Anatolii Pavlenko

Theory, technology and experiments
Methods and protection devices against torsion radiation. Invisible Hazards in the Wireless Age. Theory, technology and experiments. The seventh edition revised and supplemented. Theory, technology and experiments. The seventh edition revised and supplemented.
This book is a summary of ideas and methods for protecting the public from the negative impact of electronic technology. While conducting research, the author tried to clearly define the prevailing negative impact on living of torsion fi (TF) in comparison with electromagnetic radiation. Electromagnetic fi warm the tissues of a person using all sorts of gadgets, while torsion fields affect the gene level. Much attention is paid to the technology of protection from torsion fields.
It was very fruitful to work with academician Anatoly Akimov, who could explain the effectiveness of protecting our devices from the negative impact of torsion fields on living and stimulated this line of research.
The need to convey to people the truth about the impact of electronic technology on the living has played a decisive role in the writing of this book.
ISBN
© A. Pavlenko 2018
© Open International University of Human Development “Ukraine”, Ukraine
This book is an exciting research report that answers this and other troubling questions, and also tells an alarming story about state neglect, corporate manipulation and personal perseverance and cou- rage. It is an important reading if you are among millions of people who holds mobile phone next to the own head every day, or you are enchanted by the newest wireless Internet gadgets, or if you simply want to know whether the government is truly cares about public’s health.
None of the devices nowadays has been found most customer accepted than a cell phone, wireless Internet gadget that has ignited prevailing public concerns about possible health effect, when case study reports about brain tumors development due to device use, began to appear.
Independent scientist Dr. George Carlo (USA) studied the matter. Although manufacturing industry offi stated that “many studies’’ had already demonstrated their cell phones safety, Dr. Carlo prefers to follow the science wherever it might lead him. Soon he discovered that the studies that had ever been done certainly have no consensus on the vital question of whether we are exposed to dangerous radiation each time we keep a cell phone next to our head or exposed to harmful radiation of Wi-Fi signal.
One by one, alarming facts became to emerge started to in different studies: e.g. the blood brain
barrier, which prevents invasion of the brain by the toxins, could be compromised by cell phone radia- tion; the developing skulls of children are penetrated deeply by the energy emitted from a cell phone; and the most astonishing that the electromagnetic radiation and the torsion component of this electromagnetic radiation creates micronuclei in human blood cells, a type of genetic damage known to be a diagnostic marker for cancer.
As a Dr. Carlo continued to produce scientific findings that cell phone may pose a risk, the industry responded by ignoring his research and decided to discredit him among news reporters and scientific community. Unstoppables scientist doubled his efforts to reveal the truth and discover what critical safeguards could be still be designed to protect the public health.
The field of cell phone radiation studies is indeed in conflict with industrial manufacturers policies.
The statement made in the 1950s that there were no effects of radio frequency electromagnetic fi besides the thermal ones, as such an assumption contradicts the laws of physics, is until today successfully defended by the cell phone industry on purely economic reasons. This relates to the scientists who – against their better knowledge or because of being naive and deny any possibly non-thermal health damaging effects from cell phone radiation. Appointing them as “experts” and placing them at the national and international committees advising to governments means that the status quo is normally
ensured for decades. The result: substantial profi s – at the cost of “body counts”?
Recent studies in the mobile phone industry are based on SAR (specifi absorption rate) measure- ments and, as a rule, they also contradict with the results of European studies. Biologists do not consi- der SAR measurements as an accurate representa- tion of mobile phone electromagnetic radiation (EMR) impact on the human brain in real life. Alternati- vely to SAR increasing number of scientists engage biological systems for evaluation of harmful effects of mobile phone EMR. One of the studies that can be considered as a rigorous scientific test is the research conducted under the guidance of Glen Rein from Research Quantum Laboratory (USA). In these studies human DNA has been investigated according to the assumption that it reacts both to “classical electromagnetic fields” and “non-classical ones”. Reference to “non-classical” electromagnetic fields shows that these scientists-biophysicists could step aside from the orthodox way of thinking.
“Non-classical” electromagnetic fi have been known earlier under various definitions.
To our mind the most appropriate notion of these fields should reflect their physical nature and then they should be called “torsion fields”.
The author offers description of reliable and proven means that could be used right now.
The book you are about to read may surprise you because it describes the problems whose origin is poorly known and which are rarely taken into account. We want to draw down your attention to the well-known concept of torsion fields, which is still not in high demand in physics and biophysics. We believe that this will bring the problem of the negative impact of existing electronic equipment to the new, more constructive basis.
Most apartments, family houses, offices, commercial and industrial premises are penetrated with negative electromagnetic interference fi and torsion fi . People, animals and plants in such an environment are drained of energy all the time, burdened by electro- smog; and the greater the burden of electro-smog, the more exhausted living organisms feel. There is a lot of evidence that working with electronic equip- ment being in geopathic zones at the same time, a large number of free radicals released in the human body, which is the cause of many diseases. The scientific community is currently not only witnessed the development of a new scientific field – the study of torsion technologies, but also aware of the risks and challenges in relation to their development. Modern science does not have the classical protection methods for the negative impact of electronic equipment on living organisms, which leads to the deterioration of the population health. This book contains a fundamentally new position upsets the
major problem of the living organisms protection from the negative impact of electronic media and systems. It is proved that the main factor affecting the living are torsion (information) fields generated by mentioned means and systems. These fields have a great degree of information organizing properties. As shown below, the safety devices are able to change the mechanism of the torsion fi impact on a person, ensuring minimal impact of electronic appliances on living organisms. These problems are real and it would be logical to think that the recent and large- scale multiplication of antennas and wind turbines with their groundings in pathogenic zones induce fields which modify the natural equilibrium of the soil and consequently effecting the biosphere. Development of new technologies, such as wind turbines or antennas, mobile communication facilities, induce new forms of pollution that spreads through soil faults and could have a negative impact on the health of humans and animals. In this book we share our experience which led us to understanding of the interconnection links between some of these installations and the disor- ders observed in humans or animals and then to propose possible ways to mitigate the situation. Inertia of thinking in science does not work for generations, as many believe, but for centuries. If at least something, even just one weak person, forces to stop, to look around and think freely and methodically, then one can get a new fresh look at the facts and scientific theories and see what more powerful minds did not see just because they did not try to get out beyond the usual paradigm of thinking.
Foreword ...........................................................................................................
Abstract .............................................................................................................
Part 1
A brief description of torsion fields ideas evolution .................
Several methods to charge objects with virtual particles ........
Part 2
Mobile Phones – Generators of Electromagnetic and Torsion Fields, Polarization of the Physical Vacuum by Mobile Phones ......
Adverse Effect of a Mobile Phone on a User’s Body ........................ 3. Protective Devices......................................................................................
Base Stations of Mobile Phones – Sources of Techno pathogenic Emissions .......................................................................................................
Protection Methods for Mobile Communication Base Stations Antennae, Re-transmitters and Wind Generators Adverse Effect on Living Organisms ..................................................................................
Possible Mechanisms of the TF Infl on Humans............................ 7. The Influence of the Torsion Wi-Fi Emission ......................................... 8. VEGA-12U Geophysical Anomaly Indicator..........................................
Elements and Phenomena of torsion physics – physics of virtual particles .........................................................................................................
Interaction of Colors and Their Combinations with Torsion Fields ...........................................................................................................
11. Torsion Long-Range Action Effect ...................................................
12. Torsion Nature of Human Aura ...........................................................
Device for protection against negative effect of monitors of personal computers, TV sets .............................................................
Review of some test results for the “FORPOST-1’’ ...................
“Vernada – Geo” – protection against negative influence of torsion fields, Wi-Fi, as well as geo-pathogenic zones in premises .....................................................................................................
3
6
10
30
40
41
47
58
59
67
69
70
73
86
88
89
97
101
103
Verification of “Vernada – Geo” device efficiency. Experimental procedures ...............................................................................................
“Vernada-Auto” – a protective device for motorists ...................... 18. New developments .................................................................................
19. Radiation protection in conflict with science .................................. Conclusions ..............................................................................................
21. Quantum vacuum plasma engine does really work ........................ 22. References ................................................................................................
104
108
110
115
115
116
123
10
PART 1
Under conditions of the modern rapid development of science and technology, one can observe how formerly rejected ideas receive recognition and acquire a modern forms then and fantastic ideas become a reality, and this process could not be stopped.
It should be mentioned that numerous recent scienti- fic studies performed by independent laboratories in various universities in the world have confirmed a detrimental effect of radiation such as from mobile phones on the human body. The studies conducted within the industry of mobile communication are based on measurement of SAR (specifi absorption rate) and as a rule they contradict with the above- mentioned results or cast doubt on them. Specific absorption rate is used as an official standard to measure effects of electromagnetic radiation (EMR) from mobile phones on human brain. In fact, the model of this approach is based on physics but not biology. In this model the human brain is simulated by a solution of salts. In the industry of mobile phones SAR measurements are used to check the levels of exposure of the human beings to EMR generated by mobile phones. So, the recommenda- tions adopted in the industry of mobile phones are as follows: any technology used to ensure safety
of mobile phones shall decrease SAR values determi- ned on the basis of this (rather disputable) human brain model [1].
However, biologists do not consider SAR measure- ments as an accurate representation of mobile phone EMR effects on the human brain in real life [2]. Alternatively to SAR increasing number of scientists use biological systems for harmful effects of mobile phone EMR evaluation [2]. There are many commercial products and their designers insist that they protect humans by decreasing the levels of mobile phone EMR or neutralizing harmful after-effects of this irradiation. However, the most studies are not sub- jected to rigorous scientifi verifi ation tests. One of the studies that could be considered as a rigorous scientific test is the research conducted under the guidance of Glen Rein from Research Quantum laboratory [2]. In these studies human DNAs have been investigated as according to the assumption of the researchers that they react to both “classical electromagnetic fields” and “non-classical ones”. Allusion to “non-classical” electromagnetic fields shows that these scientists-biophysicists could step aside from the orthodox way of thinking. The idea that had defi the direction of these investigations is based on an assumption of a quantum phenomena significant role in the implementation of possible approaches to be proven. “Non-classical” electro- magnetic fields have been known earlier under various notions: Z-rays proposed by A.L. Chizhevsky, O-radiation by W. Reich, coronary radiation by
![]()
A.I. Vejnik, D-fi by A.A. Deev, micro lepton radiation by B.I. Iskakov and A.F. Okhatrin, the effect of honeycomb and cavity structures by
V.S. Grebennikov, torsion fields of A.Ye. Akimov and some others and in total more than two dozen defi . It is hard to believe that the nature is so generous and comprises so many undiscovered forces and fields. Most probably researchers have dealt with various aspects of the same phenomena during their investigations. Reality is like this. In our opinion, the most appropriate notion of these fi should reflect their physical nature and then to be called “torsion fields” although western researchers call them longitudinal electromagnetic waves or Tesla radiant energy etc. Studies results data [2] have demonstrated significant effect of electro- magnetic irradiation from a mobile phone impacting DNA electric properties suppression. It should be mentioned that EMR level from a mobile phone being in an active mode and radiation of iPhone being in a standby mode inhibit DNA activity identically. The results of the above-mentioned study have also shown ability of QC Earth Calm stickers to reduce the inhibitory effect of EMR from mobile phones on DNA molecules as well as an increase of normal conductivity in human DNAs by about
40 percent. The authors of this study note that though a protection mechanism of the Earth Calm devices is unknown but it is quite possible that “subtle” energy generated by this device modulates appropriate characteristics of the electromagnetic
radiation from a mobile phone and modulated radiation damaging DNA molecules ceases. One of the possible mechanisms to explain this effect has been proposed. If the “subtle” energy of the EarthCalm sticker has some relative coherence then it is quite possible that addition of extra coherent energy to the non-coherent electromagnetic radiation of a mobile phone can superimpose electromagnetic radiation of the phone and in this way it can become biologically inactive. This hypothesis based on the earlier published results that have demonstrated that the impact of electro- magnetic radiation on living matter depends on a ratio of coherent and non-coherent energies and the biological effect of coherent electromagnetic radiation may be reversed under certain ratios of the energies [3]. In the above-mentioned studies, positive aspect is a reference to “non-classical” electromagnetic fields though their physical nature has not been revealed. In our opinion the “non- classical” electromagnetic fields are torsion fields generated comprised by virtual particles – virtual electrons and positrons and some other virtual particles. Torsion fields of any object contain information about elementary and quantitative composition of the matter and its’ structure including component that provides information about the spin state of this matter (rotation parameters: precession and nutation, changing in the processes of torsion fields interaction. Therefore, the torsion fields are also called “informational” ones. Hereafter we will
![]()
make the reader aware about the theme of virtual particles and their effects on the human body with all possible for us consistency and comprehension. As it was mentioned above, the “non-classical” electromagnetic fields have been known earlier. A large number of hypotheses were proposed by researchers to explain their origin. Since the detailed considerations of all suggested hypotheses will require much more space exceeding our available limits let’s consider only some of them. In his book [4] Baron von Reichenbach described in details manifestations and effects of a newly-discovered natural force called by him “Odo”. In particular, it was noted, that “Odo”, like the light, has a property to propagate in space as rays for large distances. In addition, fingers and toes and all other human body organs permanently emit streams of invisible rays, all living beings are surrounded by bright radia- tion which is permanently attributed to them and never left them and so on.
Directing a beam of sunlight through a glass prism of high quality and projecting the rainbow colours on the nearest wall Reichenbach was proposing to sensitives to test the colours. Without touching the wall the sensitives put their hands into the blue or violet bands and sensed coolness more clearly and distinctly than under action of undecom- posed light. As soon as the hand is put into the yellow or red colour band the warmth certainly ceases and an unpleasant “tepidity” appears and as a re- sult the hand is weighed down. This has resulted in
a conclusion that the sunlight rays comprise both types of the “Odo” action and the “Odo” permanently flows on us from the Sun in immense quantity together with the light and heat as a powerful action which magnitude we are not able to measure yet.
When we carry out the same experiments with the moon-light as with the sunlight we will obtain the re- sults that are directly opposite and make sure that the Moon is also very important as a planet effusing the “Odo”. Taking into account these experimen- tal results one can conclude that the “Odo” is a new- ly discovered natural force that fl ws in rays from one star to another and fills by itself the whole Universe. In the book the extensive and diverse phenome- nology of unusual events related to the “Odo” energy in the nature is presented and many other interest- ing facts that stand in parallel to the theory of physical vacuum are described. Physical vacuum replaced the concept of “Ether”, but the important difference be- tween Physical vacuum and Ether is that the Vacuum in modern quantum theory has an energy of the va- cuum fl , which is theoretically infi e. Modern fundamental science has shown its progress and requires a change of existing ideas about space and motion by describing objects born from and due to interaction with Physical vacuum.
We look for any confirmation that is prove existence of various virtual particles and in particular virtual electrons and positrons. To some extend the work of V.C. Grebennikov and V.F. Zolotarev [5] is such a confi The study asserts that the electron has a
![]()
size of the Compton wavelength and it moves through the space with the speed of light. In the author’s opinion the space is quantized and the size of space cells is also equal to the Compton wavelength. Transition of the electron between cells is carried out by means of its transformation into an annihilating photon. Being a component of the annihilation photon the electron “spreads” over the space and generates shifts, which are fl ting processes, in the Physical Vacuum environment. The existence of the annihilation photon requires availability of a positron that is the existence of the conjugated world of antiparticles. In the conjugated world there are photon oscillators which turn out to be virtual. Only the result of oscillator rota- tion that is a photon spin is an observable value. The further aspects, such as a mechanism of photon emission during a gradual transition of the electron to a lower orbit and others are considered in the work [6]. In [7] G.I. Shipov has presented ideas and principles on which the theory of Physical vacuum was grounded. However, the theory lacks such classical concepts as polarization which can be defined as the specific number of elementary dipoles per unit of volume. Therefore, transition from the microscopic concepts of G.I. Shipov to the phenomenological concepts of A.Ye. Akimov [8] was necessary. This transition inevitably leads us to a notion that Akimovs’ photon should contain a pair of particles and virtual antiparticles. In their book A.N. Dmitriev, V.L. Diatlov, A.Yu. Gvozdarev [9] consider a fi ation concept of the Physical Vacuum and unusual events in the nature in particular
tornados, ball lightning, self-luminous natural forma- tions. The book is an important contribution to the theory and practice of the Physical vacuum. The work [10] reports that Hungarian scientists had found signs of existence of not four but fi e fundamental natural forces. This report was disseminated through the information service of the “Nature” magazine. Unusual results have been obtained by observation of bery- llium-8 atoms transition from an excited state into a normal state upon synthesis of beryllium by bom- bardment of a lithium sheet with protons. This pro- cess does not result in generation of photons but electron and positron pairs, which can be consi- dered as distinctive nonstable miniatoms consisted of matter and antimatter particles. Formation of the “fifth force” was described in detail in [11]. Techno- logies could not be developed in full scale if a full comprehension of their background is missing. Below we will provide some important arguments in favour of the theory and practice of virtual particles which confirm this basic idea correctness. This is a crucial factor for further design of the devices to protect living beings from negative effects of torsion fields generated by all electronic equipment, base stati- ons of mobile communication, wind power generators, solar batteries. The Earth’s geo-pathogenic zones also have the torsion nature.
The modern doctrine of torsion fi has a completely phenomenological character, manifesting itself in the complete absence of an explanation of the very nature of the subject matter of study and limiting itself only
![]()
to the description of phenomena and processes. Until now, there is no clear idea about the torsion fields carriers nature [1, 2]. Developers use an assumption that virtual particles are carriers of torsion fi , allow to develop and introduce into everyday practical activity a whole complex of devices and systems designed to solve the problems of the popula- tion protecting from the negative impact of torsion fields of a certain type [7,8 ].
The engineering approach in resolving such a problem is realistic and practical and demonstrates the lack of a physical understanding of the processes nature, insisting on the need for their practical use. However, there is an urgent need to shed light on the torsion field carriers nature.
Torsion fields are also called Tesla scalar waves, longitudinal waves, tachyon field [http://www.fostac. ch/en/kontakt/kontakt.html ] etc.
Virtual electron and positron are extremely small physical objects, which are technically not measura- ble. As with all components of matter, they are endowed with consciousness.
It is a well-known fact in physics that the atom is not the smallest of all particles and each particle of the matter can be driven by mind. It has been shown that the researcher’s thoughts alone are so strong that they can influence an experiment, which will then often distort the final result.
Let’s turn to the modern concepts of Physical vacuum. In the Maxwell-Dirac electrodynamics, a Physical Vacuum is a “boiling broth” of virtual particles and
antiparticles – electrons and positrons, that is, virtual particles constantly emerge and disappear in a vacuum. They are considered “virtual” since their lifetime is too short and limited by the Heisenberg uncertainty relation. Other words, in quantum field theory, fluctuations are interpreted as emerging and annihilating virtual particles (i.e. particles that are continuously emerged and immediately destroyed), or virtual quanta of a given fi In a vacuum, different pairs of particle-antiparticles are born, and these pairs can be comprised by electrons, protons, neutrons, quarks, etc. Virtual particles interact in the same manner as the real ones. For example, a virtual photon is capable to generate a virtual electron-positron pair, similar to the formation by the real photon of a real electron-positron pair. Electrons, for example, con- stantly emit and immediately absorb virtual pho- tons. It should be noted that the content of the con- cept of “virtual particle” has undergone a signifi ant change since the concept had been introduced by
R. Feynman. Between interacting objects, “virtual” particles produce an energy exchange impulse in short time intervals. Previously, virtual particles were considered as well-known particle in virtual states (e.g. photons, electrons, pions). Then it became obvious that there is a class of particles (quarks, gluons) that could not in principle exist in real state because of the confinement property in quantum chromodynamics and manifested experimentally only as hadron jets, which in a certain sense, means that virtual particles have acquired the status of observable
![]()
matter http://darkenergy.narod.ru/ mhpicru.html. I.e. if a separate virtual particle could not be physically detected, then integral effect of such particles can be seen clearly (Casimir effect, 1965). The concept of virtual particles plays an important role in under- standing of their
internal structure, which is complex, especially hadrons. The scheme of the hadrons structure implies the concept of “fur coats” from virtual particles that “dress” the corresponding “naked” particles. We use the concept of “fur coat” from virtual particles further, considering that the Physical vacuum composed by virtual electrons, positrons and photons, i.e. only a small part of a more complex reality.

e e
e+ e+
Fig. 1
shows the “virtual chain” of transformations. Events from left to right occur as follows (http://darkenergy. narod.ru/mhpicru.html). A virtual photon, after pass- ing a certain distance, becomes a virtual electron- positron pair. The electron and the positron make half a turn in opposite directions, drawing a circle in space. In a collision point they disappear and generate a virtual photon, which propagates further
A virtual electron-positron pair creates an annular current, and this circular current generates magnetic field B. Configuration of this field is similar to the confi ation of the strip magnet fi Such elementary virtual magnetic dipoles emerge in a vacuum constantly and everywhere. They are randomly oriented and therefore the total integral magnetic field in vacuum equals to zero. We use the option of a hypothetical approach and consider a simplified system consisting of only one electron. We believe that there are no real photons in such a system, but fluctuations in the Physical vacuum lead to formation of a “cloud” consisting of virtual photons next to this electron, and, behind them, virtual electron-positron pairs. Such pairs manifest themselves like bound charges in a dielectric: impacted by the Coulomb field they are polarized in a way shown on Fig. 2. Virtual electrons participate in the same way in interactions, as real ones, i.e. repel from real electron.

![]()
e
e+
Fig. 2
Figuratively speaking, in small space-time areas the vacuum is like a “boiling broth” of elementary particles.
![]()
Till recently, direct experimental observation of this fundamental phenomena was not considered as possible. Scientists based on the precondition that vacuum fluctuations always manifest themselves in nature indirectly, leading to a wide range of effects. Physicists from the laboratory of Professor Alfred Leitenstorfer [12] found vacuum fluctuations, and access to the ground state of the quantum system was obtained without any increase of intensity. Until now, direct experimental observations of this fundamental phenomenon was not considered possible. They demonstrated a first direct observation of the so- called Physical Vacuum fluctuations by using short light pulses while employing highly precise optical measurement techniques (Fig.3). Now, using a trick of quantum optics as astonishing as it is weird, physicists from the University of Konstanz in Germany have found a way to manipulate nothing by controlling how virtual particles interact with a pulse of light [12].
An old philosophical riddle says: “What’s in an empty kettle?”
The obvious answer (“nothing”) is wrong because it disagrees with Heisenberg’s Uncertainty Principle – it decrees there must be fluctuations of energy inside the kettle and these manifest as particles popping into and out of existence.
These so-called “virtual” particles have a real effect on the universe. For instance, the virtual particles cause a ghost-like, but measurable force, called Casimir force, that pushes two mirrors together in a vacuum. And the appearance of virtual particles on the edge
of a black hole is what causes Hawking radiation (if it exists).
Like dogs snapping at the wheels of a passing car, virtual particles also worry the edges of passing photons. This interaction slightly muddle’s the photon’s shape, distorting the wave from a perfect sine curve into something a bit fuzzier.
In October 2015, Alfred Leitenstorfer and a team from University of Konstanz made one of the first direct detections of virtual particles by mapping out this photon fuzziness. It was pointed out earlier that in quantum field theory vacuum fluctuations shall be interpreted as formation and destruction of virtual particles (particles that are continuously generated and immediately destroyed), or virtual quanta of a given fi In a vacuum, different pairs of particle- antiparticles are produced, and these pairs can be caused by electrons, protons, neutrons, quarks, etc. Virtual particles interacting in the same way as real ones. A virtual photon is capable to generate a virtual electron-positron pair, similar to the formation of a real photon of a real electron-positron pair.

Fig. 3. Physical Vacuum fluctuation
![]()
Quantum physics explains that there are limits for precise determination of the most basic units of matter properties – for instance, one can never identify absolute particle’s position and momentum at the same time.
The existence of virtual photons could not be doub- ted, after Christopher Wilson and his colleagues at Chalmers University of Technology in the Swedish city of Gothenburg, together with colleagues from Australia and Japan, “embodied” virtual photons [13, 14]. This occurred next to a waveguide made of aluminum and connected to a superconducting quantum interferometer (two Josephson tunnel junctions con- nected in parallel into a closed loop). In the experi- menters inductance of the circuit was changed by a magnetic flux in it, oscillating with a frequency of the 11 GHz order. The inductance oscillations affected the electrical length of the waveguide, which oscillat- ed with a completely relativistic speed (about a quarter of the electromagnetic waves propagation speed in the waveguide, which was approximately 40% of the speed of light in a vacuum). The waveguide, as expected, emitted photons generated by vacuum fluctuations.
Two forthcoming European Physical Journal D papers challenged formed understanding of the Physical Vacuum nature. In one paper, Marcel Urban from the University of Paris-Sud (Orsay, France) and his colleagues identified a quantum level mechanism to interpret vacuum as being filled with pairs of virtual particles of fluctuating energies. In other words, the
vacuum fluctuations may be thought as a quantum flickering [15].
It is obvious that the description of the virtual particles state in Physical vacuum in non-excited state is very complicated, since virtual particles have a very short lifetime, undergoing transformations. It is known that anything emerging in this world, including living creatures, polarizes the Physical Vacuum.
The picture of Physical Vacuum polarization is shown on Fig. 4. This polarization of the Physical Vacuum created for example by TV-sets, computer monitors, and other electronic gadgets. The action produces a charge polarization of the vacuum, as prescribed by quantum electrodynamics. The virtual particles, so rearranged, interact differently with the longer light wave. In built up pockets they make the light wave noisier while in the depleted regions the light wave is quieter.

Fig. 4. Physical Vacuum polarization
![]()
For the purpose of general understanding of this phenomena essence, it is necessary to address some theoretical questions related to interaction of the real and virtual particles.

Fig. 5
The model of the Physical Vacuum polarization, linked to the perturbation of its electron E, appeared in 2007 in the book of Roger Penrose [16]. Fig. 5 demonstrates the process of the Physical Vacuum charge polarization. On Fig. 5 virtual electrons have a blue color, virtual positrons – red. Let us consider the process of polarization in more detail. We shall assume that the electron E (Fig. 5) is a point charge located in a certain point of space. In this case, the effect of polarization of the Physical Vacuum can be presented in a following manner. Suppose that in a certain point of the space next to the electron
E, a virtual pair of particles, the electron and the positron, is formed and after a very short time they annihilate i.e. the birth and subsequent annihilation of a pair must occur in an external electric field generated by the electron E. Let us consider the process of polarization in more detail. We shall assume that the electron E (Fig. 5) is a point charge located in a certain point of space. In this case, the effect of polarization of the Physical Vacuum can be represented as follows. Suppose that at a certain point in the space located next to the electron E, a virtual pair of particles – the electron and the posit- ron is produced and after a very short time, annihilate i.e. the birth and subsequent annihilation of a pair must occur in an external electric field generated by the electron E.
The effect of this external field is that the born virtual electron is slightly repelled by the electron E, whereas the positron that is born is slightly attracted to it and hence there is a physical separation of these charges during their short-term life, i.e. symmetry of photons is broken. This phenomenon occurs all the time and everywhere around the electron E, which leads to a net effect called the charge polarization of the Physical Vacuum. Previously, this model was proposed by
A. Akimov [8].
Torsion field can also be considered as a flux of left-handed and right-handed virtual electrons and positrons within the Physical Vacuum.
In most conventional materials the spins of virtual electrons and virtual positrons are distributed randomly.
![]()
They point in many directions with no organization or order (Fig. 3). Virtual electrons and virtual positrons are unique and this enables to use a certain pattern to monitor their position in space and in the matter. Spins of magnetic materials are aligned by their mutual interaction, the spins of most materials have no pattern for them. If we apply a pattern to their spins, it can impose a new “structure” of a substance, where there was nothing before.
Spin information imprinted in the nucleus of atoms potentially can last for years. The nucleus of an atom is much heavier than the electron, so it has more spin inertia. It takes more energy to change its spin. The nucleus sits in the center of the atom, far away from the impact effects of neighboring nuclei. It has a cushion formed by its electron cloud. Consequently, once the spin of the nucleus has been set in a certain way it will retain this direction for a long time, unless influenced by torsion impact [7, 18].
This spin pattern can encode an information. It can later be detected by the torsion meter VEGA-12M [17] or another device.
American biologists drew down attention to this phenomenon, calling such radiation “non-classical electromagnetic radiation.”
SAR currently used as an official standard to measure effects of electromagnetic radiation (EMR) from mobile phones on human brains. In fact, this model is based on physics but not biology. In this model the human brain is simulated by salts solution In the mobile phones industry SAR measurements are used to check exposure
levels of the human beings to EMR irradiated by mobile phones. So, the recommendations adopted in the industry of mobile phones are as follows: any technolo- gy used to ensure safety of mobile phones shall decrease SAR values determined on the basis of this (rather arbitrary) human brain model [2].
However, the biologists do not consider SAR measurements as an accurate representation of mobile phone EMR impact effects on the human brain in real life [2]. Alternatively to SAR increasing number of scientists uses the biological systems to evaluate harmful effects of mobile phone EMR. One of the studies that can be considered as a rigorous scien- tifi test is the research conducted under the guidance of Glen Rein in the Research Quantum laboratory [2]. In these studies human DNAs have been investigated in the light of the researchers’ assumption that DNAs react both to “classical electromagnetic fields” and “non-classical ones”. Allusion to “non-classical” electromagnetic fields shows that these scientists-biophysicists could step aside from the orthodox way of thinking. The idea shaped direction of these investigations was based on an assumption of a possible significant role of quantum phenomena in a number of possibilities.
In the above-mentioned works the positive aspect is a reference to “non-classical” electromagnetic fields though their physical nature has not been disclosed. In our mind, the “non-classical” electromagnetic fi are torsion fi constituted by virtual particles – virtual electrons and positrons and other virtual elementary particles.
![]()
Torsion fi of any object contain information about qualitative and quantitative composition of its matter and structure including a component that represent information about the spin state of this matter (rotation parameters: precession and nutation), which change in the processes of interaction of TF. Therefore the TF are also called “informational” ones [19]. Hereafter we will acquaint the readers with the theme of the virtual particles and their effects on the human body with the available for us consistency and fullness.
There are many stories that has been invented in order to get rid of the research results regarding the biological effects of torsion field irradiation. We forced to prove the existence of virtual particles in this way.
No process has previously been known which can perform charging of a metal blank by virtual electrons using torsion fi generators or a special charging circuit using real electrons.
Despite the fact that scientists have a long term standing skepticism, this process also seems could be explained on the basis of spins patterns in the object. Objects can have spin-patterns of virtual particles presenting a torsion field. Further, in this article we will explain how dielectric and metallic objects can be charged.
The diagram for a glass sheet charging by virtual parti- cles is shown in Fig. 6, where 1 – a glass sheet,
2 – Threshold -3M device, 3 – power supply, 4 – connection link to register TF (both conductors and non-conductive materials can be used), 5 – zone of the right torsion fi and 6 – is a zone of the left torsion field.

Fig. 6
As a spin pattern, which will control the spin polariza- tion of the glass, is the Threshold-3M. This device is a generator of extremely high frequencies, and it is used in medicine as a medical equipment. This device is also a generator of torsion fields, and the left torsion field is radiated on the rear part of the device, and the right field is radiated on the front part of the device. This is the therapeutic aspect, but not the extremely high frequencies of electro- magnetic radiation.
![]()
As mentioned above, the Threshold -3M object is the exposure pattern to torsion fi of the opposite parts of glass 5 and 6. In the area 5 the right torsion fi is registered, and in the area 6 the registered left torsion fi i.e. the fi are detected in accordance with the law of the torsion fields interaction: zone 5 is connected to the radiation zone of the right torsion fi and the virtual positrons of the glass and, possibly, of the surrounding space, are linked to this zone and have identical spins. A similar process occurred in zone 6. Such a polarized state of the glass may persist for a while, but when the glass is exposed to a sunlight, it quickly becomes neutral. The Sun light, for example, will be naturally accompanied by torsion waves.
In order to prevent fast polarization of zones 5 and 6, it is sufficient to interconnect these zones with a wire or a textile rope.
However, when trying to defuse the glass using a circuit consisting of a simple rope and a diode connected in the forward direction (+ the diode is connected to zone 5 and the other end of the rope is attached to zone 6), the virtual electrons and posi- trons will not be discharged, i.e. diode in the forward direction prevents the discharge of the glass. When the polarity of the diode is changed, the glass discharged, i.e. zones 5 and 6 become neutral. A similar phenomenon happens when the glass char- ged with virtual electrons and positrons.
The fact that virtual electrons and positrons are rapidly disappearing from glass indicates that only virtual
electrons were polarized, which are adjacent to the surface of the glass and were repulsed by real elec- trons of the glass.
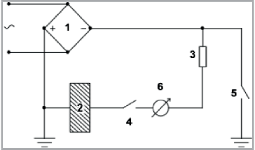
The scheme to charge metal by virtual electrons and positrons was proposed by A. Kinderevitch (Fig. 7). Where on Fig.6: 1 – power supply, 2 – metal blank (MB2), 3 – Impedance, 4 – key, 5-6 – meter.
The existing theory of the metals electron conduc- tivity could explain many phenomena, taking into account existence of virtual particles in the Physical Vacuum (Fig. 1, 2, 3,4).

Fig. 7.
The scheme for MB2 charging is quite simple. Simpli- city is a necessary condition to prove existence of the virtual electrons and positrons and their physical properties of such new virtual charge carriers. For this reason, the description of the process is of special importance since its’ amazing simplicity could convince any opponent.
![]()
Within such a scheme, charging of a MB2 by virtual electrons and positrons takes place. It is obvious that real electrons participate in a charging process of the mentioned MB2 by virtual particles (Fig. 7). The charge of the MB2 1 takes place with the closed keys 4 and 5. It should be noted that such interconnection does not lead to a short circuit although the positive and negative terminals of the source 1 are grounded at some distance from each other. Normally power fl w in the wires is considered as an electrons fl w, and in the case of semiconductors – holes as well.
In fact, there is the same counter flow of two charges. The real electrons move from the minus clamp of the power supply unit through the resistance R and the closed key 5 to the metal disc, pushing the virtual electrons to the left side of the MB2. On the right- hand side of the MB2, there are virtual positrons that are repelled by positive charges of the positive termi- nal of the power supply 1 and the virtual electrons themselves on the left side of the MB2. Obviously, it is necessary to study further the processes of MB2 char- ging by virtual particles, since in this case the informa- tion parameters of the surrounding space changed, and the non-electromagnetic electric process itself has a double character dictating position of virtual carriers inside MB2 and transfer of virtual electrons and positrons from the surrounding space to the MB2 and a conductor with a current.
It is clear, that in the process of MB2 charging by virtual particles, there are two opposed direction electric currents – the real electron current and the
current of virtual positrons. The problem to separate oppositely directed electric flows is a complex technical problem. In this paper, this issue is not considered in details because of its complexity. In the authors’ opinion, at this stage of research it is more important to demonstrate a possibility to charge metal with virtual particles and to encourage the other researchers to verifi ation of the possibility to charge a metal with virtual.
During the charging process the Ohmmeter reads a certain current (note in amps), and the arrow of the meter shifts to the right from the zero reading mark. It should be mentioned that in this case, when the charging circuit was disconnected from the power supply unit, the virtual particles were “frozen” at opposite ends of the MB2. In the first case, the virtual particles from the opposite sides of the glass gathered by a simple application of the left and right torsion fields. The charge of the MB2 according to scheme 6 is made by real electrons and positrons, which allows us to accumulate a significant amount of virtual electrons and positrons. Not a process has previously been known which could provide charging of the metals by virtual particles.
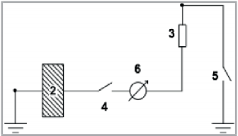
The discharge scheme is presented on Fig. 8.
![]()

Fig. 8
Virtual positrons from the right end of the MB2 with the closed keys 4 and 5 go through a micro-Oh- mmeter 6 (when charging, an Ohmmeter was used), resistance 3 and a closed key 5 and move to the right according to the grounding scheme. There are many virtual positrons that attract virtual positrons of the grounding. A similar phenomena occurs with virtual electrons. The discharge current is in hundreds of times less than the charging current, but the arrow of the micro-Ohmmeter shifts from the zero reading posi- tion in the opposite direction compared to the charging process. As a result, the MB2 becomes completely neutral.
It is clear that the discharge current in general de- pends on the mass of MB2 and a charging time.
In particular, it was registered that if a small MB2 is charged for 5-7 minutes, and after 1-1.5 hours the MB2 is moved to another location then discharge current of 400 μA in the circuit on Fig. 8 could be obtained.

Fig. 9
Fig. 9 shows the discharge diagram of a metal blank with diode.
Modern electrodynamics describes direct and re- verse connection of a semiconductor diode. In this case, its reverse connection is blocking real elec- trons. But for virtual electrons such connection will be direct. Discharge of the MB2 goes with closed keys 4 and 5. The discharge process could be reviewed based on the space harmonization law briefly described in [21].
We should remember that the elementary particles themselves have a consciousness, perhaps quite different from ours. The author believes that the beha- vior of elementary particles is purposeful and when the particles interact, they perform an information exchange. They must have corrected ideas about space and time, and in this sense one can speak of a certain system, like Greenwich.
Undoubtedly, the world unity is of an informational nature. The particle’s strategy – the wave function –
![]()
is in the consciousness of the particle and is the result of the work of this consciousness is known information about the world. Thus, the particle solves the quantum-mechanical problem. When new infor- mation is received, the particle corrects its strategy, that is, it corrects own wave function. A striking example of such correction is the fact that if you identify nodes of left and right geopathic zones in a closed space, for example, in an apartment, and connect these nodes themselves with a conductive wire or a non-conductive rope, then according to A. E. Aki- mov’s model a space harmonization takes place. In this case, virtual electrons and positrons are embedded into each other, forming a “phyton” in A.E. Akimov’s model [8].
In the considered example of the electric discharge of a metal blank, we create conditions for the harmonization of its state by joining the left and right parts of the mentioned bar with an electrical circuit composed by the elements shown on Fig. 8, i.e. the left side of the metal blank containing virtual elec- trons, the first grounding, second grounding, switch 5, resistivity 3, diode switched in the forward direc- tion for the virtual particles, key 4, right surface of the metal blank. As a result of such a connection, begins gradual decrease in the number of virtual particles in a metal disc and in the meantime this metal disc becomes neutral.
But we do not yet know how virtual particles behave inside a metal blank, whether they pass through the chain of transformations depicted on Fig. 1. The
application of the left outer torsion fi to the left side of the metal blank causes an increase of the virtual electrons number in this part. In this case the energy is taken from the permanent fl w of virtual electrons in nature, which arises from the natural poten- tial difference between Earth and the ionosphere. In other words, the left torsion fi impact have a character of virtual electrons transiting from space to charge carriers and conductive matter with an electric current.
The application of the left outer torsion fi to the left side of the metal blank creates a high-density fl of torsion fi which behaves like antenna, drawing virtual electrons from the natural energy of Physical Vacuum and feeding them into the electrical circuit. This process increases the efficiency of the electricity, which results in reduced power demand from the electricity supplier grid. When it is used with a source of electrical power, it optimizes the feed-in power and thus provides a higher yield.
Here it is necessary to quote the words of
M. GellMann: “Quantum mechanics is a discipline of complete mystery and paradoxes, which we do not understand, but we can use.”
40
PA RT 2
A greater number of people in the present-day world begins to care of their health and since we live in the age of high technologies and technical progress, the they are concerned about techno-genetic factors. Numerous recent scientific studies in independent laboratories at various universes throughout the world have been performed. Detrimental effects of cell phone radiation, as well as other human-made radiation, is now a world-wide epidemic affecting the health of all humans. This global phenomenon is referred as electro- pollution. Constant exposure to natural and artificial radiations can cause changes in behavior, the state of aggression or depression (sometimes to the point of suicide), constant fatigue, sleep problems, partial loss of memory, problems with concentration, stress.
Till now there was no commonly accepted model of the Physical Vacuum polarization by mobile phones. Below we consider a fi st approximation to the model that provides qualitative explanations of left-hand torsion fields generation (TF) around mobile phones. In a mobile phone we have conditions under which electric currents running inside the phone in its opera-
ting modes repulses generated virtual electrons of the Physical Vacuum and as a result only the left torsion fi comprising virtual electrons exists around the mobile phone.
It is necessary to stress that this model provides a clear idea how the Physical Vacuum is polarized by a mobile phone (Fig.10).
In addition to the known man-caused factors (inclu- ding natural technogenic zones), that negatively affect human health a new factor has emerged and deman- ding close attention due to increasing coverage of territories of developed countries by mobile phone network services.
The rapid growth of mobile phone applications and construction of base stations for cellular communica- tion systems cause concerns among the population regarding possible adverse effects of EMR from cellular technologies to their health including neurological disorders, oncological diseases etc.
Development of the technologies based on EMF shall be supported by appropriate scientifi investigations aimed at biological effects and potential hazards for health due to environment electromagnetic factor effect.
Analysis of the published data has shown a correla- tion between the development of pathological conditions and effects of EMR on user’s body in the frequency range 450 to 1800 MHz.
![]()

Fig. 10
The results of conducted studies have confirmed a biological importance of radio-frequency radiation and therefore safety standards of mobile communications have been developed. In accordance with the international standards the power generated by mo- bile phones is defined in watts per kilogram, and this is a definition of specific absorption rate (SAR).
SAR parameter defines an amount of energy absor- bed by the user’s brain during a call. There is no worldwide unifi method to measure SAR yet, so the values of SAR for the same model of a mobile phone which have been measured in laboratories located on the different sides of the world ocean may differ by a factor of several times. The USA standard is considered as more strict one.
The problem of a mobile phone effects on the user’s body, predominantly on the brain, is a subject of the
book [22]. The book presents the results of the six- year studies of the above mentioned authors and their colleagues. The studies have shown that the frequent use of a mobile phone can result in brain can- cer or weakening of its vessels. One of the volun- teers the X-ray picture depicts affected brain zone (shown in black). It has been noted that high-frequency radiation of mobile phones can directly affect the brain cells causing disorders of short-term memory. However the main conclusion of the studies shall be as follows: the low level of SAR does not guarantee safety for users. And it is an evidence that an un- known factor affecting human beings exists. The above-mentioned studies [2] were the subject of the rigorous scientific tests and they indicate the presence of an unknown factor. The effect of radiation quanta in the frequency ranges used in mobile communication services is insignificant (temperature increase in the action point does not exceed 0.1 C) and is not the main factor of negative effects on users. In these cases we speak about a control actions for electromagnetic radiation of low intensity and biolo- gical effects due to such impacts are called effects of non-thermal (informational) action of electro- magnetic radiation from mobile phones.
An additional (but not demanded) argument to define an effect as informational is a significant (by many orders) excess of the energy balance proce- sses over the energy of initiating processes, and this excess underscores signal functions for the receiving system.
![]()
From torsion technologies view, this factor is a torsion component of mobile phone EMR.
Mobile phones also affect blood resulting in a di- sease called mononucleosis.
The safety devices based on torsion technologies shall block just a torsion component of EMR preven- ting impact on the brain. In relation to the growing concerns about harmful effects of EMF on health and taking into account that people around the world both in the developed and developing countries feel these effects in 1996 WHO established the International Project for Studying Effects of Electromagnetic Fields (EMF) with the aim to explore consequences of the above-mentioned effects. The Project was establi- shed in accordance with the logic of scientifi ac- tions related to the studies of this issue which shall be implemented in the foreseen future.
Within the frames of the established project a particu- lar emphasis was made on the studies of harmful effects of radio-frequency radiation (as well as heating) from mobile telecommunication terminals on human health in particular from devices operated at lower frequencies. The so-called “non-thermal” effects have been studied for a long time. This report is a summa- ry of the EMF Effects Project Study carried out by the WHO. It is also gives an idea of current know- ledge about radio-frequency radiation effects on human health and contains recommendations with respect to protection of citizens against EMFs for the WHO member-countries.
Adverse effects of mobile phones on human health have been presented in the report prepared by the EU researches [23,24].
Among the numerous evidences of negative impacts on biological objects there were defi ely established facts; damages of DNA by mobile phone signals and reduction of quantity of active man spermatozoon by 30 per cent after one-and half years of a mobile phone use. Studies of electromagnetic effects (EMEs) of UMTS (3G) have revealed that breaches of DNA strands occurred at exposures to radiation of only 1/40 times of the permitted levels. This indicates that genotoxicity of UMTS (3G) exceeds genotoxicity of GSM by a factor of ten and this results in definitely higher risk of cancer. Professor Franz Adlkofer identifies mobile phones technology of and its political justification as a giant experiment on human beings without any plan and control of its implementation and unpredic- table future consequences and warns about huge health problems in the society that continues to use mobile communications on more intensive and larger scale.
In [25] it was noted that starting from 70-80th of the last century a growth of incomplete pregnancies with a death of embryos in mothers’ wombs due to unknown causes has begun to be registered. A search of real causes of this phenomena began. As early as in 2008 the report prepared by obstetrician E.K. Ailamazian (St. Petersburg, Russia) stated that due to bad ecolo- gical conditions in the city, up to one third of newborns
![]()
have severe pathologies such as Down syndrome. It is a pity that the Ministry of Health begins to acre about babies health only after they have been born when in some cases such care is quite useless.
Carcinogens are some chemical substances and various emissions which could modify genetic proper- ties of a future human.
Mobile phones have created conditions when a radio wave transmitter is in closest contact with a human organism. Emissions radiated from mobile phones and their torsion component account for a number of serious diseases, in particular, brain and salivary gland tumors. However, mobile phone can be a real lethal danger for a human only at the stage of his or her embryonic development.
When a mobile phone is located in the area of the lower pelvis of a pregnant woman, the intensity of the electromagnetic radiation is approximately 500 times higher than the maximum permissible levels by the Russian norms. These figures should persuade women to use mobile phones with more caution in the periods of pregnancy.
Among the known technology-related factors, to which natural technogenic zones negatively infl
human health also belong, a new one has emerged, which requires close attention in connection with ever-growing coverage of the developed countries’ territories with mobile connection.
47

The employees of Spinor International (Kyiv, Ukraine) have created a device for protection of a human from the mobile phone torsion emission (TE), by making a diffraction grating as a fractal composition of rings and planar
crosscut of the dimensional relations arrangements of the unperturbed Physical Vacuum creating the conditions under which the mentioned factor does not emerge in the local zone around the phone P (Fig.11). Absence of the left TF in the local zone around the phone indicates efficient protection of a human from the negative emissions impact.

Fig. 11
![]()
The Spinor device provides reliable and user- friendly protection from adverse effects of the torsion (information) component of electromagnetic radiation of mobile phones, cordless phones, MP3 players, laptops and other electronic devices.
Recent studies revealed that the torsion (information) component of mobile phones (cordless phones) radiation is the most substantial factor affecting human health. Spinor neutralizes harmful effects of torsion (information) component of mobile phone (MP3 player, laptop etc.) radiation and creates a biologically safe area around the phone (any other electronic device). This device does not interfere into operation of phones and other electronic devices.
It is designed to protect human from the negative impact of a mobile phone TF by creating a local area of the unperturbed Physical Vacuum around the mobile phone thus protecting a user from the adverse effect of the left TF attributed to mobile phones with- out a protective device.
Spinor device neutralizes the torsion (information) component of mobile phone (MP3 player, laptop etc.) emissions harmful for a humans and creates a bio-safe area around the phone (other electronic device). This device does not make any interference for operation of the phones and other electronic devices.
In October 2005, representatives of Ukraine, France carried out joint testing of the Spinor protective device [17 ] in Le Conquet, France.
It was found that Spinor holographic resonator neu- tralizes the torsion component of EMR of mobile
phones, while the protective properties are trans- ported from the protected phone to the unprotected one, and the transport of the protective properties does not depend on the distance between communicating terminals.

Fig. 12
At the Fifth International Scientific and Practical Conference “Energoinformational Unity of the World – a New Technological Development Paradigm” which was held in Dnipro 07 to 09.09.2005, academician A.Ye. Akimov (Fig. 12, second right) expressed the following:
“I would like to draw down your attention to the following: in the course of the experiment conducted in France, three effects were in fact demonstrated: the first effect is linked to dissipation of the harmful TE of the device on which the neutralizer was fixed, the second effect was that the action of this neutralizer did not affect the devices which were nearby, i.e., its
![]()
action is individual, and the third effect is that when this protected device got connected to terminal not equipped with a neutralizer regardless communication distance, that device also turned out to be protected. I would like to comment on these three effects from the scientific point of view.
First: these holographic resonators invoke some spin polarization of space, it is thus natural that a TF cannot go beyond the zone of the neutralization of mobile phone emissions. This means that we, figuratively speaking, have “frozen” this space area and it beco- mes impenetrable for the mobile phone’s own TF. The second situation is connected with the fact that, as physically this devise is not connected with other devices, the polarization effect cannot be transmitted, because there is no intermediary for such transmission. And the range of action during the work of the neu- tralizer inside the device is effectively limited by the boundaries of the device itself, i.e., its physical boun- daries. The third effect – the effect of the far distant transmission of the neutralization properties – is also clear from scientific point of view, albeit more complicated. The case is that in the materials publi- shed by us almost 15 years ago demonstrated that EMF, as opposed to the gravitational and torsion fields, possesses a very important specific feature: any kind of EMF and static electric fields and wave EMR in the area of space where they are observed, where they are present, always generate torsion components. This point of view has now won support in a number of publications and monographs abroad.
If there is a device creating an EMR (it is not important whether this is EMR or laser radiation – light source), in all cases a TF existence will be observed along such beam. There is a very important factor connected with the fact that ENR quanta are particles having a spin. Therefore, is we create a TF which is polarized by spins by these photons, in this case we have situa- tions in which these photons transfer this spin informa- tion upon the movement of the electromagnetic wave”. Hence, an important factor is that the electromagne- tic radiation quanta are photons – the particles that have a spin. This is a well-established textbook fact. And if we create radiation polarizing these photons by spins, these photons, as it were, transfer this spin information upon the movement of the electromagne- tic wave. From this point of view it is not surprising that such polarized wave, having reached the next device, produces in it the same spin effects as in the transmitting device. In reality, all the electronics which was placed in the traffi between those two devices inevitably came under this influence.
Ukrainian scientist V. Krasnobryzhev enhanced A. Aki- mov’s explanation:
“In order to accomplish quantum teleportation, i.e. transfer the state of protection from a protected mobile phone to an unprotected mobile phone, it is suffi to connect one phone to the other via “connection link”, or rather an “assembly link” composed by these two phones. The phenomenon of quantum teleportation is manifested in the exis- tence of instant, distance-independent interaction
![]()
between the particles of a single quantum system – the two phones. Herewith the entanglement is aspecial quantum form of correlations of the constituent systems which does not have a classical analogue. It arises in a system comprised of two and more interacting subsystems (or systems that interacted before and where later separated), and is a superposition of macroscopically different states. For such systems fluctuations – changes of spin states of separate parts – are interconnected, but not by usual classical interactions (classical correlations), limited, for example, by the speed of light, but by non- local quantum correlations. In this case a change in one part of the system at the same point in time impacts the rest of its parts (even separated in space, at the limit and on infi ely large distances). This means that in this case on the unprotected mobile phone, a copy of the original state of the protected mobile phone was reproduced.
Further, A. Akimov continued: “Photon (not to be confused with “phyton”) is an electromagnetic forma- tion localized in space from which electromagnetic radiation transferring energy and information in space. Since the function of electromagnetic radiation is to transfer information and energy, photon is an elemen- tary carrier of information and energy”.
An Indian scientist Bose hypothesized in 1924 that electromagnetic field is an ensemble of photons which he called an ideal photon gas. A. Einstein, who liked this idea very much, translated his article from English into German and sent it to a physical journal.
A radio wave radiation band is a stream of photons, and a modulated radio wave is a stream of photon impulses (Fig.13) of diverse density and/or frequency [19],i. e. in the framework of quantum electrodynamics electromagnetic radiation may be contemplated as a stream of photons. Thus, the transmitter particle of the electromagnetic interaction is a photon (a particle which may be presented as an elementary quantum electromagnetic field excitation).

Fig. 13
Photons are polarized because they spin in one in one plane, and the centrifugal forces of inertia acting on the centers of mass of the electromagnetic fields of a photon increase their radial size and reduce in perpendicular direction to the plane of rotation. As a result, photons acquire a form different from sphe- rical and close to flat. Photons do not have a charge
![]()
because they consist of an even number of differently directed electric and magnetic fi which make the total charge of a photon equal to zero.
In other words, according to A. Akimov’s theory, two spin-polarized photons, bouncing apart, are leaving spin-polarized traces along the trajectory of their movement. These traces, along which phytons, facing and gravitate to each other, act as a communication channel between photons which bounce apart. Chan- ges in polarization angle of one photon are transmi- tted with the help of torsion disturbance to another one through this spin-polarization channel. If conjec- ture about the propagation speed of torsion signal is true, it is the “hidden parameter” which is analogous to time is spatiotemporal, as was indicated above. By comparison, communication speed on a TF is infi ely high. If this way is to be used for information transmission in the form of impulses, then, sending them with enormous frequency, we will get a possibility to send them much farther than by using digital information transmitted by electromagnetic waves. However, quantum view of electromagnetic signals is not applicable here.
A TF has neither a wave structure with spikes and troughs, nor energy packets.
A phyton spin aligned transversally is connected to its’ neighbor and provides a transmission to a recei- ver immediately. There is no inertia, as phytons have no mass and in the beginning they are twisted in erratic manner. All that takes is phytons pass into the state with transversal polarization which may expand
along the trajectory to the whole Universe. This line remains unchanged in space until cancellation takes place.
The research in this direction is still in a nascent state and needs physical and mathematical interpretation and development. This is why we use a formalized model of photon and radio wave processes genera- ted by interaction of electromagnetic radiations of a mobile phone and its torsion component with the matter of a holographic resonator.
The experiments described above on distant “trans- fer” of the state of protection from a mobile phone with a protective device to a mobile phone without a protective device, or, more precisely, the information about the coherence of torsion emission of a protec- ted mobile phone, may be construed from the position of nonlocal contact under the mechanism of quantum teleportation. In practice, in a protected mobile phone, indular “transfer” of speech and digital information together with inversion of the left torsion field into the right one takes place. This is previously unknown polarization radio wave transfer of speech and digital information with the use of rotation-vibration quantum and molecular properties of a protected mobile phone. When a torsion field is generated by a classic spin, its effect may manifest itself only as an alteration of the spin state.
Spinor device neutralizes the torsion (information) component of mobile phone (MP3 player, laptop etc.) emissions harmful for a humans and creates a bio- safe environment around the phone (other electronic
![]()
device). The device does not interfere into operation of the phones and other electronic devices.
Experiments to test the efficiency of “Spinor” device were performed in 2008 [ 26].
The purpose of our researches was an immunolo- gical examination of the mobile phones users in the age group 18 to 21 year old. Immunological status (cellular and gumoral) was determined by using the protective devices of “Spinor International” company and in a month after installation of the above devices.
25 persons took part in this study. The first group –
15 persons were students with installed protective devices on mobile telephones after blood sampling for an immunological inspection, and 10 persons – control group with no protective devices installed. Conducted research has shown practically for all inspected students substantial changes in immunolo- gical indexes in a decline of indexes of both cellular and gumoral immunity, namely, leycocytopenia, reduced amount of VGL, T and AT lymphocytes, macrophages, multiplying immune complexes and disglobulation.
Through one month after application of safety devices on mobile phones practically for all 15 stu- dents, unlike a control group the indexes of immunity in one or another test were substantially around normal values, multiplying large granular lymphocytes (LGL) was marked, T and at thymus-dependent lymphocytes, functional activity of macrophages rose, there was reduction of immune complexes and normalization of 3th classes immunoglobulin: Ig A, M, G [Fig.1]. Subjective senses of students were certain at the same time – fatigue ability diminished for a day, a
somnolence disappeared and a capacity was multi- plied. Thus, the conducted research indicates viola- tion of immune status of the mobile telephones users and substantial renewal of the studied indexes when “Spinor” protection devices were in use.
Indexes of LGL, and thymus-dependent lymphocytes in blood of students.
Indexes of bone-marrow derived lymphocyte and leucocytes in the students blood.

4 70
3,5 60
3
50
2,5
%
%
40
![]()
![]()
no defence with def ence
no defence with def ence
2
30
1,5
20
1
0,5 10
0
LGL
0
thymus-de pende nt lymp hocytes
10 10
9 9
8 8
7 7
10**9 / liter
%
6 6
no defence with def ence
no defence with def ence
5
5 ![]()
4 4
3 3
2 2
1 1
0
leucocytes
0
Fig. 14
bone-marrow derived lymp hocyte
![]()
The adverse effect of the natural technogenic zones which are geodynamic and micro geodynamic zones, is increased by the present-day anthropogenic expo- sure. The aim of the research conducted in France was to assess negative impact of the natural techno- genic zones of the Earth constituting a complex dynamic structure, which peculiarities are only now becoming known in a broader scale, for all living organisms. The extent of the intensification of the modern anthropogenic impact on all living organisms and their interaction with the natural technogenic zo- nes of the Earth is a matter of interest. The French and Ukrainian scientists have established that if the grounding of the receiver and transmitting antennae for mobile phones, wind generators and some other purposes electric devices is made in the places of intersection of geodynamic or micro geodynamic zones in the state of expansion (when water circulates through them) or in the left field of the Hartmann grid, this causes generation of an enhanced left TF. The field propagates through the system of geodynamic zones for the distances of tens of kilometers. Oil and gas pipes, dry beds of rivers and streams, any extensive heterogeneities in soil can also behave as a “torsion waveguide”. Fig. 15 presents a model of the mobile communica- tions base station built into high tower where the height signifi antly larger than its diameter. At the foundation of the base station and on its top there is a high-inten- sity torsion field propagating axially in all directions.

Fig.15 shows a model of a base station of mobile phones (model by A. Rusanov, France)
![]()
Besides the known negative technogenic factors of the natural technogenic zones adversely influencing human health belong, a new one requiring close attention has been discovered in connection to the growing coverage of the territories of the countries with developed mobile communication.
The adverse effect of natural technogenic zones which represent geodynamic and micro geodynamic zones is increased by the present-day anthropogenic impact. The aim of the research was to corroborate the growth of the negative impact for all living organisms of the natural technogenic zones of the Earth comprising a complex dynamic structures, which peculiarities are only now become clear in a larger scale. The extend of the intensifi ation of the modern anthropogenic impact on all living organisms and their interaction with the natural technogenic zones of the Earth is a matter of study interest.
Research conducted by Prosantel Association (France), SARL Tellus (France) and Spinor International LLC (Ukraine) found the following [27]. If the grounding of the masts of receiving and transmitting antennae for mobile phones, wind generators and some other electric devices is made in the place of intercrossing of geodynamic or micro geodynamic zones in the state of expansion (when water circulates through them), this causes the an enhanced left TF. The field propagates through the system of geodynamic zones for distances of tens of kilometers.
It is becoming clear that topologic increase of the left TF on a macroscopic level takes place. The enhance- ment of the left TF in this case could be explained
taking into account one of the known laws of TF inter- action according to which TF attracts thing similar to itself. The left TF existing in the mentioned places attracts the left field created by the antennae arrays etc. Antennae masts are geometric figures whose diameter is significantly less than its height and therefore, in accordance with A. Ye. Akimov’s mo- dels, generate the left torsion field.
Below we provide some examples of the left tor- sion field adverse effect on people and animals revealed in France.
When a young girl after moving into a new apartment began to experience sleeping difficulties and chro- nic fatigue. Hairs began to fall out from a part of her head. The doctor explained all this with the stress at work. In fact, as it was found later, her apartment was in the house built on the intersection of geodyna- mic zones of expansion with a strong left TF. Another example. A woman, a mother of two, moved into the new house. In the meantime in the new house she had three miscarriages. The doctor was not able to find the cause for this. He directed her to a geo- biology specialist who established that the house was placed in a geopathogenic zone.
For example, in the zones with a strong left TF pigs start getting sick and aggressive. They begin to bite each other. Under normal circumstances such beha- vior is not possible.
Cows who happen to be infl by he left TF get thick, the milk quality gets lower. On an animal farm located at the intercrossing geodynamic zones in
![]()
Brittany (Western France), cows were constantly ge- tting ill, the milk quality was significantly lower than the standard, which led to financial losses.
If earlier the effect on human and animal organisms in geopathogenic zones (GPZ) was to some degree gradual, now numerous cases of very quick influence of natural technogenic GPZ on human and animal organisms are observed, and it is being linked to the impact of a new technogenic factor.
All the attempts to treat the cows gave no positive re- sults. Change of fodder composition and equipment did not improve the situation. 10 new healthy cows were bought then. In a week they also got ill. The main problems of this farm were due to the location at the cross section of geodynamic zones in the state of expansion with water circulating through them. The farm existed for a long time. Serious problems, however, started appearing only in recent years. This also is linked to the emerging of a technogenic factor in the GPZ – the left TF. This TF has been induced by the mounting of antennae for mobile phones in the place of intercrossing of geodynamic zones.
In order to eliminate the adverse effect of the left TF on human and animal health, “Spinor International” and Prosantel Association (France) developed a num- ber of efficient protective devices based on the concept of safe electronics. It is grounded not only on the ideas of shielding or protecting a human from the harmful effect of EMFs and their torsion compo- nent, but also on a totally new approach taking
account geometric peculiarities of the human-made fields.
The protective devices make it possible to transform the negative effect of the influence into the positive one, i.e., they invert the TF. To this end, the protective Vernada -1 devices are placed in particular locations on the pylons of base stations or on the grounding of the base station (Fig.16). The protection effect is significantly increased when the protective devices developed by Prosantel Association (France) and the FORPOST-1 developed by Spinor International (Ukraine) are used in combination.
Such a milk quality parameter as white blood count is controlled on French farms on a weekly basis. This is an objective factor which makes possible to esti- mate efficiency of the protective device.
After installation of the protective devices at an animal farm, white blood count normalized within one to two weeks. Pigs and cows stop getting sick. People’s general physical and mental state and slee- ping conditions improved. Sometimes some disea- ses were cured without medicines.
Vernada device (Fig.17) neutralizes the zones of the left torsion field which arose as a result of a base station erection, and thus protects humans and other living organisms from negative impact.
![]()

In order to neutralize the negative influence, the device should be installed next to the pylon of the base station (wind generator) at the depth of 40 to 50 cm in one of the so called “points of force” located
at the crossing point of two “left” geopathogenic zones. In the case the Vernada device correct installation, it neutralizes the zones of the left torsion field caused by the mounting a base station or wind generator. More detailed information can be found in [19].

Fig. 17
In order to verify whether there is any negative influ- ence on the human organism from torsion (information) component of electromag- netic radiation of base stations of mobile phones and to prove the effective- ness of protection provided by the Vernada device, a simple kinesiological test performed.
Two persons needed for the test. The first participant is placed in the left torsion field of a base station of mobile phones (without a protective device); she or he lifts one arm in front of her (him) and keeps it in horizontal position 10Fig.18).

Fig. 18 Fig. 19
The second participant presses from above on the wrist of the first person. The first participant tries to keep his arm with maximum effort; both participants note the level of resistance the arm produced.
After the Vernada device has been installed in the “point of force”, an analogous test was performed. In this case the resistance of the human arm significantly increases, which clearly demonstrates the positive impact of the Vernada device that eliminates torsion (information) component of the emissions of the mobile communication base station on a human organism (Fig.19).
Experiments have revealed the fact of emerging left torsion fi and their propagation for large distances by the system “lightning rod – mast/tower – base
![]()
station antenna – grounding” when such systems are located in the zones of the Earth crust expan- sion where water circulates, in geopathogenic zones, in the fractures of the earth crust etc.
Experiments revealed the fact of the adverse effect of the left torsion fields on living organisms by the system “lightning rod – mast/tower – base station antenna – grounding”.
Manifestations of the adverse effect of the torsion emissions of the antenna of the base stations of mo- bile communication networks on living systems were as follows: left torsion fields may negatively influence users through thalamus, as redundantly activating infl emerges hyper-synchronously, through thala- mic structures, the limbic system, when paroxysmal activity is observed in a person, may provoke some negative effects whether on the psycho-emotional level in the form of aggression or epilepsy or other phenomena.
The Vernada protective device, which by inversion transforms the left torsion fields into the right ones, may signifi antly reduce the impact from communica- tion networks antennae of the mobile communica- tion networks base stations and protect from the background technogenic electromagnetic fields and their information component.
The mentioned Vernada device may be recommen- ded as a tool to eliminate factors of the adverse effect of the left torsion component of the system emission “lightning rod – mast/tower – base station antenna – grounding” on living organisms.
It was earlier considered that the control on all levels of organization of a bio object is conducted by weak EMFs and TFs activating or deactivating various processes.
TFs of TV sets, mobile phones, base stations of mobile phones, geopathogenic zones of the Earth, as well as diverse symbols indented on a metal or a dielec- tric material, as well as permanent magnets may be some sort of the emitters, forming weak but detectable torsion control signals on the level of organs, tissues and cells. The mentioned weak impact determined signals as modifying factors of a low intensity with a wide range of biological action. Among the many hypotheses and speculations about the mechanism of the torsion fields adverse effect on living organisms is the hypothesis of free radicals.
A free radical is an electrically charged particle, as a free radical lacks an electron. In order to become a stable particle, free radicals must “steal” this lacking electron from another molecule. When the electron has been stolen, for example, from a bacterium, its molecular structure has been damaged, which leads to its death. When there are no bacteria left to be destroyed and when there is not enough elec-
![]()
trons which can be obtained from antioxidants to stabilize the number of excessive free radicals, the free radicals then proceed to the single sources they can grab electrons from – to healthy cells. As a result, healthy cells are damaged and perish due to the loss of electrons subtracted by free radicals; then an additional signal is sent to the immune system to receive further aid. This creates a continuous autoimmune reaction (creation of more free radicals) which leads to chronic infl and tissue damage which is usually called oxidative stress.
Chronic overproduction of free radicals by the im- mune system causes such inflammatory diseases as arthritis, atherosclerosis, infarction, type 2 diabetes, lupus, multiple sclerosis, asthma, inflammatory bowel diseases etc.
V. A. Sokolova in 1982 [28] had found the property of tissue cells to alter the membrane conductivity under the influence of a torsion field. The possibility of far-distance impact of the torsion field on tissue conductivity was studied following the works of
V. A. Sokolova, albeit on a different equipment. In the beginning of 1986 the studies were conducted under the supervision of I. V. Meshcheriakov. This research for the fi st time demonstrated experimentally that changing the sign of the torsion field changes the sign of the electrical conductivity of tissues depending on the medium level.
Back to 1936, doctor Davis was the first person who found, the difference between theeffect of the north and the south pole of a strong magnet on a live
matter and water. He believed that if the “spin” is direc- ted against the impulse then the field helicity should be called left (l), if down the impulse – right (r), i.e., in his opinion, there are two symmetric emissions, one of which contains “left” particles and the other contains “right” ones. Later he studied this pheno- mena in details and came to the conclusion that the lines of flux coming out of S pole are twisted clock- wise, and the lines entering N pole are twisted counter-clockwise. Doctor Davis determined the helicity of the emission considering it as if along the magnetic lines of flux for each pole. For practical purposes it is more comfortable to determine the helicity in the direction opposite to the way it was made by Davis. The modern idea is that the north pole during the day has the right filed and it accelerates all the processes of evolution and growth, and the south pole slows them down.
Due to the development of the Internet, in order to provide wireless connection to the world wide web, the Wi-Fi systems are widely used. Lately the Internet has been full of articles on whether Wi-Fi networks are harmful for health, wherein issues are being discu- ssed not only about the infl on the human orga- nism, but also on trees, other living systems [17] Wireless networks inflict irreparable damage to the health of children and teenagers. It is worth mentio- ning that Wi-Fi operates on the same frequency as microwave ovens. For a human such frequency
![]()
is not so harmless. A huge number of studies have been published proving that Wi-Fi adversely influ- ences the health of mammals, in particular of a human. Among the diseases caused by Wi-Fi, the most co- mmon are cancer, cardiac failure, mental disability and memory impairment. In the USA, Great Britain and Germany, Wi-Fi is less and less used in schools, hos- pitals, universities. Vernada-Geo device eliminates the negative effect of Wi-Fi wherever the device is connected to the power grid, and for the power supply of the Vernada-Geo device and of Wi-Fi the same phase conductor of the power grid is used. As indicated above, when the device is connected to the grid, the left inversion fi of the phase conduc- tor from the grid is inverted into the right, which is equal to generation of a new torsion right field, and

Wi-Fi feedback is in sig- nificant reducing of the torsion fi intensity gene- rated in the area where above phase conductor is placed as a power conductor.
The purpose of the device is to determine location of geophysical anomalies (GPZ) in the form of diverse nets and
spots (e.g. Hartmann and Curry grid), changes of the electromagnetic component of the Earth geo- magnetic fi in the range of 5 to 10 kHz, sensitivity spanning from one to hundreds of piсo Volts. As an output parameter of the device, the integrated phase shift of the analyzed frequency is used.
Considering the fact that GPZ have a torsion nature, Spinor International employees developed the way to employ VEGA-12U to detect TF.
VEGA-12U (Fig.20) is a highly sensitive selective electro magnetometer detector of TF. The device is designed as a portable metering sensor with visual indication and a power supply unit connected to it with a cable. The device is powered from the Li-Ion battery with discharge indicator.
Moving the sensor along the analyzed surface of the Earth, including inside buildings and building structu- res of any fl number, the location of geophysical anomalies in the form of diverse grids and spots, for example, Hartmann and Curry grid, could be detec- ted. VEGA-12U device is designed to:
detect geophysical anomalies (geopathic zones) known as Hartmann and Curry grid in apartments, in offices and in industrial premises;
detect indoor anomalies of unknown origin, constituting spots, strips, three-dimensional objects (phantoms);
explore karst caverns, faults, geological hetero- geneities of the ground, water strata, which are powerful geopathic zones;
to explore the «aura» of alive and non-living objects.
![]()
The device was piloted in 2016. In the flats located one under another, having a thick geopathogenic grid (around a meter) and energetic spots, the cases of death of people from cancerous diseases were registered.
VEGA-12U device also allows to record the electromagnetic “aura” of a person at the distance as much as one meter from her or his body, as well as its distortions connected to pathological changes in the organism.
The field design option of the device is used to determine GPZ on the land plots intended for building construction. Besides this, device is used to explore locations of metallic and non-metallic substances, including polyethylene, conduits, voids, human bodies and other metallic and non-metallic objects under the soil, snow, ice, concrete, wooden and metallic fl s. The device allows to locate water aquifers and loss of liquids from conduits.
Localization depth of the conduits and voids is as much as 20 m, human bodies and objects whose volume is not less than 5 dm3 – 3 m. The depth to locate ground water strata r), the reaches 50 m. Ope- ration temperature range: -20 °C – +40 °C, humidity level: up to 90 % (in “Indicator” mode); weight of the full set in the carrier bag – max. 2.7kg; weight of the device – max. 1.4 kg (with the power supply unit). The device was piloted for localizing metallic, ceramic, asbestos and cement, polyethylene conduits underground on a number of industrial enterprises and afield, in winter and summer conditions. With the
help of this device, exploration of water aquifers for companies and private gardeners was carried out during three years.
The device was designed in the VEGA lab. (Spinor International Ltd. Ukraine).
The successes of the Physical Vacuum theory and the first promising experiments demonstrated the potential for the development of this new direction. Design works for TE generators and receivers were performed by A. Ye. Akimov in Moscow (Russia),
G.N. Dulniev in Saint-Petersburg (Russia), V. P. Maybo- roda (Ukraine) and others.
The first important outcome of these experiments was that several classes of fields a forming, a TF was identified as tightly connected to the EMF, i.e., in fact we deal with a special type of interactions – electro-torsion interactions. This peculiarity of signi- fi antly facilitated the conduction of the experiments. Naturally, the ways to single out the torsion compo- nent of such emission existed.
The first practical application of this new kind of emi- ssions was dealing with the materials manufactu- ring technique. It is known, that in the process of molten metal and alloys cooling, the crystal lattice is formed in two processes. The ions in the molten metal should occupy places designated for them in the structure of the crystal lattice of a solid body, and the spins of these ions must acquire a certain orientation relative to the edges of this lattice.
![]()
The impact of the TF on the molten metal causes rearrangement of the ions spin state in the process of their movement towards the lattice points. The crystal, forming as the result of this influence shall be characterized by the unidirectional orientation of all the spins which will inevitably lead to changes of its physical and chemical properties. It is quite easy to see that the torsion infl on the molten metal has an informational but not energy character.
Implementing one of the programs, professor M.V. Kurik from the Institute of Physics of the National Academy of Science of Ukraine (Kyiv) studied the effect of the TE on the crystalline structures of a cholesteric liquid crystals mix. The crystal lattice spacing increased 2.5 times and the size of fractals grew for three orders [29]. The torsion processing of molten metals was perfor- med in the department of V. P. Mayboroda, Doctor of Physics and Mathematics in the Institute for Problems in Materials Science (Kyiv, Ukraine). Convincing eviden- ces of the changes in the crystal structure of metal cakes after they have hardened in comparison with the control samples were obtained.
In the Central Research Institute for Electrophysical Problems of the Surface (Saint-Petersburg, Russia) under the lead of the Russian Academy of Natural Sciences academician Professor G. N. Fursey, the influence of the TF on the molten metal was also studied.
It is important to note that the influence of the TE lead to observable enhancement of the characteris- tics of the obtained samples.
The second direction of the torsion physics is linked to the possibilities to create principally new systems
of communication and information transmission. TF, being a manifestation of fundamental properties of the Physical Vacuum has unique properties. Firstly, unlike electromagnetic and gravitational interactions, these fields do not weak with a distance, second, they are not absorbed by either environment media, or by technical structures, and third, they are capable to transmit information with the speed greatly exceeding the speed of light.
Let us note that not only free space can serve as the transmitter of nonlocal spin perturbation, but also free electron gas existing in the conductivity zone of metallic conductor. This is very handy from the prac- tical point of view, as experimenters created the possibility to transfer torsion and electro-torsion signals from their source via usual metal wires. Then arises the question: whether there is a link between the structures of the quantum vacuum and the Holly Grail of the life science – the mysteries of the human psy- cho. Aristotle asked in his time, how the soul is attached to the body. However, even today the science is far from being absolutely clear. There are reasons to believe that it is phyton ensembles of the quantum vacuum that are the most fundamental material of the psyche functioning as a whole and consciousness in particular. If this is really so, we finally seems have a possibility to propose a scientific interpretation of the phenomena of extrasensory perception (tele- pathy, psychokinesis, precognition and others), in the basis of which lies the transfer of information with the help of TE.
![]()
One of the problems which are of special importance for the development of scientific directions studying the energy of live organisms on the systematic level, is to determine the physics of the processes happe- ning in bio systems as well as the nature of fields and emissions emerging in the course of these processes. The fact that these fields and emissions have a specifi nature as well as the deep processes of the life activity of biological objects follows from the diversity of phenomena studied by the fundamental sciences and they sometimes cannot be explained on the ground of the existing notions, which in a num- ber of cases invokes denial of such phenomena the possibility. In order to explain many of the processes taking place in the animal and plant world, it is necessary to have new concepts grounded on the latest achievements of scientific, theoretical and technical disciplines.
In the framework of the proposed conception “Bio safe Electronics”, different areas of scientific know- ledge at the junction of medical and biological scien- ces combined in terms of ideas in order to try and bring up the medical and biological studies, with ultimate goal to develop biosafety devices and sys- tems, on the qualitatively new level.
Importance of the above-mentioned conception can be assured by a quote form Leo Tolstoy’s book [30]: “Only the correct understanding of life gives the necessary meaning and direction to the science in general an each branch of science in particular, ranking them by their importance relative to life. If the
understanding of life is not such as it has been put into all of us, the science itself will be false.
Not that what we call science will define life, but our notion about life will define that what should be acknowledged as science. And therefor for science to be science, the question about what is science and what is not science must be settled in the first place, ad for that the notion of life must be realized”. The development of biosafety devices and systems must include a set of basic ideas and methods which to a large extend reflect the common features of the scientific and cultural background than their differen- ces, successes and failures of biophysical areas of research. It should be expected that new scientific concepts, methods, schemes developed to resolve one particular physical and technical task, will un- expectedly provide a possibility in a new way and quite efficiently to cover the most complicated problems of medicine and biology, and such scienti- fic consolidation will lead to the creation of a new generation of biosafety technology based on the harmonization of the interactions of a human as an informational torsion-wave subject with informational- wave phenomena of our environment.
It is possible that torsion physics will enable to create less contradictory models for further research- es in the direction towards biosafety electronics development.
Thereunder we present a brief review of yet unclear and unexpected experimental observations concer- ning new spin-torsion phenomena that deal with
![]()
the development of the generation methods, accu- mulation and detection of electronic spin polariza- tion, as well as its control.
“There is no more fascinating subject, more worthy of study, than nature. To understand this great mecha- nism, to discover the forces which are active, and the laws which govern them, is the highest aim of the human intelligence” – these where the words used by Tesla to begin one of his speeches. In publication [31] the dynamics of a spin non-equilibrium system under the conditions when a complete quasi-mo- mentum of the system of electrons and particles interacting with them is retained. The analysis of the derived equations shows a possibility to excite in a heterogenic in its magnetic properties conducting ring underdamped oscillations of spin polarization accompanied by oscillations of the drift current through the ring. However, it turned out that there are materials in which oscillations of spin polarization occur spontaneously and continuously maintained.
Experiments have established that an aluminum disk (Fig. 21) of high purity (99.999 %) generates alternating torsion field (TF) with a period of about 40 seconds, and the period of an alternating TF depends on the time of the day. It means that it is a system demonstra- ting spatial-temporal self-organization – the transfer from the state of generating the left TF to the state of generating the right TF. It is important to note that torsion fi on the opposite planes of the horizontally oriented disk, are opposite, i.e., if there is the right field on one surface of the disk, there will be the left fi on the opposite side.
It is necessary to note that a copper sheet also demonstrates such properties. Probably, above men- tioned aluminum disk and the copper sheet were in the same state when the spins of electrons were in constant ordered motion (spins up – then spins down) in spite of local magnetic moments (groups of ordered spins).

Fig. 21
More details of this matter discussed further, but scientific results from Fergana discussed below.
Theoreticians insist that complete orderliness cannot be achieved even at very low temperatures (this is made impossible by quantum fluctuations). This all resembles behavior of a liquid, which accounted for the name of this state of matter. Thus, the aluminum disk is in the state of spin liquid in real physical experiments. Spin liquid was theoretically forecasted in 1973 and has since attracted attention both of theoretical physicists and experimenters.
It is necessary to note that the mentioned spin non-equilibrium leads to the emerging magnetic
![]()
properties in non-magnetic materials [17]. The con- clusions made by the authors of publication [17] are as well corroborated in the case of the aluminum disk of high purity which generates an alternating TF being in the state of spin liquid. If in the phase of it generat- ing the right TF, a magnet with north pole will be brought to the aluminum hanging on a thread, the aluminum is drawn to the magnet in accordance with the law of the interaction of the TF. And vice versa, the aluminum bounces off from the north pole of the magnet in the phase of it generating the left TF. However, the mechanism of interaction of a part of aluminum disk with a magnet is much more complex and cannot be explained solely by mutual attraction of the TF of the disk and the magnet, as the attempts to discover similar phenomena under the influence on the aluminum disk of TFs of different nature failed. It is possible that when the aluminum disk interacts with the magnet, some other, hitherto unknown, mechanisms are presents, for example, the activation by the magnet of local magnetic domains (groups of ordered spins) in the aluminum.
And the fact of the disk fi generating the TF if the disk itself is combined with its photograph seems absolutely fantastic. It is clear that this is also torsion interaction.
Example of the disk terminating generation of the TF when lit by a blue lamp used in medical practice seems to have an interest. The generation resumes when the torsion field of the blue lamp is blocked with relevant means.

Fig. 22
The scheme of the torsion field interaction of the blue lamp with the spin pendulum of the aluminum disk is of particular interest, although it is clear that the interaction is of torsion nature. Fig. 22 represents the Forpost-1 device generating the right form torsion field. When lit with
the blue lamp, it inverses the emission, i.e., the device generates the left TF. When this phenomenon was studied in more details by the bio-location method, it became clear that in the light spectrum of the devi- ce’s emission the blue colour was missing (colour of the side and upper stickers). Here is characteristics, of GEODD device (Fig. 23), which is an analogue to Forpost-1 and it is manufactured by Spinor International (Kyiv) by order of one French company, has no blue colours in its spectrum components.

Fig. 23
![]()
GEODD reacts to it being lit by the blue lamp by terminating generation i.e. GEODD’s reaction is similar to the aluminum disk in the state of spin liquid. Described phenomena shall be used to make the right choice of the torsion equipment devices. But, the range of these phenomenon utilization is much wider.
The phenomenon of non-locality (entanglement) disco- vered in the course of experiments with the ring magnet divided into two parts and the above-mentioned aluminum disk and detail consideration given in [17]. But this is an altogether different direction of research. The experiments described in [17] prove the possibili- ty to control the spin state of electrons of the mentio- ned aluminum disk with the help of artificial magnets, i.e., there is a possibility to generate a TF of a selec- ted polarization by the materials (substances) to which the phenomenon of spin pendulum is intrinsic. It turned out, however, that the aluminum disk reacts to the magnetic field of the Earth. In the case when the disk is aligned vertically, the generation vanishes. The discussion of this issue in detail is presented in [17].
There are also the following conclusions:
The existence of materials in which the spin polariza- tion fl arise spontaneously and constantly maintained is discovered.
When the permanent magnet is divided, each of its parts becomes a material system with its own spin (torsion) field.
Entangled state appears between spin systems of the magnet halves, which is based on the effect of quantum non-locality.
When the part of the magnet interacts with the aluminum disc in a state of the spin liquid, and at the same time the interacting part of the magnet is in an entangled state with the other part, the aluminum disc generates only the right or only the left torsion fi depending on the position of the magnetic pole of the magnet part, which touches the disc surface.
When combining a photo of the aluminum disc with the disc itself, generation of a torsion field stops that indicates the presence of an entangled state between the photo and the disc itself.
Interaction of the disc in the state of a spin liquid with the magnetic fi of the Earth has been discover- ed. The disc in a vertical position, during the day, exits the spin liquid mode.
Possibility to control the spin state of electrons of the aluminum disc with artificial magnets is proven,
i.e. there is a possibility to generate torsion fi with selected polarization by materials (substances), which inherent phenomenon of the spin pendulum.
It has been found that generation of left and right torsion fi depends on the torsion fi fl ws moving from north to south. The proof of this phe- nomenon is that the aluminum disc in a vertical posi- tion does not generate a torsion field if you put polyurethane foam (a screen from torsion fields) in front of the disc in the direction to the north. It is found that the disc in a vertical position at night generates in such a way that when the right field is at the top, the left one is at the bottom, and the proper connection of respective pieces provides harmonization of the surrounding space.
![]()
The disc generates torsion fi in the horizontal position during the day, in the vertical one – in the night.
There is a theory of entangled elementary particles known in the physics of elementary particles, which means that everything that happens to one particle, exactly happens to the other same particle if these particles are separated from one another by more than the radius of the known interacting fields.
Employees of the Fergana Laboratory of electro- dynamics problems under the guidance R.G. Sigalov discovered the “gravitational-electric effect” [32].
Working with metal objects (rods, plates, discs) scientists have noticed that electric charges can often be detected on the surface of these bodies (which can be determined by electrostatic means). For example, two metal plates, placed one on the other, tin boxes, put on each other, the ends of a vertical rod turn to be oppositely charged. The point is that during the day the “upper’’ item has a negative charge, and the “lower’’ one has a posi- tive charge. At night it is vice versa. Scientists came to the conclusion that there is a in impact of the Sun gravity force, which is above the laboratory during the day, and at night is on the other side of the Earth. Apparently, the Sun gravitationally acts like a pump, pulling electrons up from the bottom during the day and in the opposite direction at night. In metal bodies the free electron mass is the movable environment, although it is small, their charges are indicators of electrons retraction
process during the day – upwards, and at night – in the opposite direction. It is important to bear in mind the following: not only electrons of metal objects are gravitated towards the Sun, but also electrons of the Earth, free and bound in atoms and molecule; because of this, the Earth’s surface is charged with negative charges during the day and with positive charges at night. Thus, the tidal effect of the Sun on the electrons is in two ways: directly and through tidal electrification of the Earth’s surface. With some preliminary comments work results of Fergana scientists used further when considering the effect of solar radiation on the generators of torsion fields in the daytime and at night,.
We confirm the presence of negative charge during the day at the upper end of the vertically posi- tioned metal rod, and this produces a corresponding left torsion field, whereas at the lower end of this rod the right torsion field is generated by the positive charge of the lower end of the rod. In the case of horizontal position of the above rod left fields are determined at both ends of the rod, which corre- sponds to the determination of the Physical Vacu- um polarization in geometric structures of cylindrical shape, in which the ratio of diameter to length is much smaller than 1.
More information about the effects of solar radiation on the generators of torsion fields, located on the dayside and on the shaded side of the Earth, can be found in [17].
![]()
Employees of SpinorLab under the supervision of the researcher Dr. Alexander Zarichanskii discovered several options for harmonization of the Physical Vacuum by finding a combination of objects with different colours, with no difference if it’s a sheet of colored paper or, for example, combination of the respective colors of plasticine [17]. Leaving aside the model presentation and physical reasoning of the discovered ways to block the Earth geopathic zones in residential and industrial buildings, we present the list of determined combinations of energy-free blocking colours:
a black sheet with an orange or light blue edge;
a yellow sheet with a brown edge;
an orange sheet with a yellow edge;
a green sheet with a purple edge.
a red sheet with a green edge;
a blue sheet with a white edge;
a purple sheet with a red edge;
a white sheet with a green edge;
a light blue sheet with a white edge or with a yellow edge.
Emission of a blue-colour lamp blocks geopathic zo- nes of the Earth within indoor spaces, regardless of whether it is an incandescent lamp or a gas dis- charge lamp.
It was found, that all combinations of colors, which block negative effects of geopathic zones on hu- mans, reliably protect them from adverse effects of the mobile phones. Small-size of colored sheets in combination may be placed on a mobile phone, laptop and other gadget battery. These are same figures that block generation of a spin pendulum.
A twisted-pair cable for Internet connection gene- rates the left torsion field. If there is a sheet of paper with numbers 17 (00010001) or 33 (01000001) written on it placed on this twisted pair, the left torsion field is absent.
![]()
![]()
By placing a colored stripe (edge) on the base colour (background) we get a torsion-active system. Torsion-active range blocks geopathic zones.

![]()
![]()
White | Black, red, green |
Black | Green, red |
Purple | White |
Blue | Yellow |
Orange | Black |
Yellow | Red |
Light blue Golden | Purple Orange |
Let us use green colour to transmit an information from alive sprout of kalanchoe. We take green paper. Paper sheet is split into three parts. A large part is to make contact with the sprout. Two smaller parts are to receive an information. The sprout is placed on a white side of the paper sheet; the green side of the paper to receive an information is placed with a green-colour side up for more than one meter away from the sprout. There is a torsion “connection” between the sprout and green parts of paper, and the farther is the sprout from the receiving part of paper, the more powerful a torsion fi is. The expe- riment is carried out in a 10-meter long line of open space. If the distance is less than one meter, there is no connection.
Useful application: for plants that are not adapted to regional conditions, planting is advisable on a pha- sed basis – the main land plot is seeded, then the stripe is made along the perimeter of the fi seeded
with this culture, and stripe seeding is repeated so that the plants growing in stripes supported the plants that grow on the main fi by their biological energy. The most vulnerable is the blooming period as well as fruit formation. For stripe seeding may be used a biological agent.
To explain the torsion nature of the human aura it is necessary to understand that the most important environmental factor is the proper geometric structure of the Physical Vacuum.
Here considered previously reviewed model of the Physical Vacuum by A.Ye. Akimov [8]. In the first approximation, the Physical Vacuum, according to Akimov, consist of virtual electrons and positrons. A torsion field is represented as breaking the symm- etry of “phytons”.
Employees of Microlepton Technology (company that continues works of A.F. Okhatrin), believe that all physical objects have their own micro lepton field. Micro leptons, like “phytons” by Akimov, are the part of an atom, its nucleus, and surround electrons. Micro leptons have large free path length in the material substance and are not shielded by natural environments.
According to the standard model, there appear diff- use virtual “clouds” of virtual particles around all elementary particles [17].
Peculiar properties of the geometric structure and symmetry of “phytons” of the Physical Vacuum lead
![]()
to replacement of diffuse “clouds” with the structured virtual enclosures to fullerenes by their geometric structure. Such virtual envelopes of fullerenes geo- metric structure constitute the part of all atoms and all the elementary particles heavier than an electron, including the electron itself.
Esoteric culture of the humanity, along with humani- tarian and religious ones, had been formed for thous- ands of years based on simplistic ideas about the structure of the material substance and living orga- nisms. It is because of such simplified ideas about the complexity of both phenomena that the centuries- old tradition formed the image of the “Chinese” wall separating the physical world from commonly called subtle world.
In XX century it was believed that the world of ele- mentary particles, in principle, is impossible to under- stand, but it could only be described by mathematical methods. However, formulas, no matter how complex they may be, could not represent an adequate picture of physical reality. On the basis of such formal descriptions it is really impossible to recognize exis- tence of the subtle world, and especially to under- stand the actual world structure. Hence, it was a substantiation to accuse so-called “pseudo-science”.
Today, science has reached the milestone when the world structure of elementary particles can be not only described mathematically, but also really under- stood from the perspective of ordinary human sense. Over the centuries-long confrontation of science and all religions, the major question consists in the
reality of existence of an aura, a nimbus or a halo around the head of a human. It is this contradiction that has an utterly visual form, as nimbus, painted on all Christian icons. Under different names the existence of such nimbus, areolas which are invi- sible to the majority of people, are recognized in all religions and in all versions of esotericism. There are people who have the ability to see these aureoles. It is clear that auras do exist. Today, an existential aura, from a purely scientifi point of view, is already considered to be an absolutely essential compo- nent of the human body, and not merely of it.
The majority of physical objects consist of elementary particles with spin (intrinsic rotation), which is a source of torsion fi [8]. The Academician of the RANS (the Russian Academy of Natural Sciences) A.V. Bobrov claims [33]: as the living and nonliving world is con- structed of the same atoms and molecules, there could not exist a fi characteristic to an alive matter, which would not be a characteristic for a nonliving matter, and vice versa. Therefore, all nonliving and living systems have their own “torsion portraits” created by rotation of the particles they consist of. Especially sophisticated are torsion fields gene- rated by the human body, i.e. by its biological sub- stance, as well as by those specific forms in which this substance dwells.
A.V. Bobrov introduces a concept of “own spin fields of material objects” as the result of an experi- mental study of the discovered phenomenon of information interaction of the separated in space
![]()
material objects [34]. The own spin field of every material object is directly or indirectly involved in the fi of information interaction between all material objects, including the Physical Vacuum. The book presents the results of studies of a near-field length of the own spin fields for two interacting objects and based on the obtained results the author makes a conclusion that in addition to the already known factor (torsion fields of the Physical Vacuum) there exists the second field information factor – own spin fields of material objects, which is also able to carry and exchange information, actively participate in physical, physical and chemical, biological processes. The existing ideas of an aura as a part of the human energy fi that extends outside the body keep away from the critical issues of the aura formation, the inter- action mechanism with the Physical Vacuum, physical bodies, the interaction between people’s auras. To answer the referred problems it is necessary to address the modern concept of the Physical Vacuum. In electrodynamics by Maxwell-Dirac the Physical Vacuum is a “boiling broth” of virtual particles and antiparticles – electrons and positrons, i.e. virtual particles constantly emerge and disappear in vacuum. It is known that the membranes of all human cells have a natural negative charge, and the charge forms a halo (coat) around a human made of virtual elec- trons and other virtual particles that interacting with a negative charge repel apart to a distance depending on the state of human body parts. The fi e below shows 7 layers of the aura, but further we will consider
the aura consisting of virtual electrons. Problematic body parts will have a slightly smaller charge, which would entail a reduction in the size of the aura. Diagnosticians identify problematic body parts by the reduced size of the aura.
It was experimentally established that virtual elec- trons of the Physical Vacuum affect a person like free radicals in its body. Photo 16 shows seven bodies of the human aura:

Fig. 25
Long-term studies of the human energy fi have shown that in 85 % cases at the time of new or full moon (36 hours), human energy field changes the sign for a few hours, and it confirms its correlation with Sun the movement and geomagnetic activity.
![]()
Continuing the topic of the human aura, publications on the usefulness of the body grounding during sleep are worth to mention [35]. Researchers believe that when grounding the body during sleep, natural protection against static electricity and emitted electrical and electromagnetic fi is made. In such a case muscles relax, the quality of sleep improves, there is evidence of improving the health of people with respiratory problems, asthma, rheumatoid arthritis, people with high blood pressure and others. It should be noted that interpretation of the experimental results of a number of authors, unexplained if based on the known laws of physics, can be made using the model of the Physical Vacuum.
There are reasons to believe that when the body is grounded during sleep, not only natural protection against static electricity and emitted electrical and electromagnetic fi takes place, but also prevented an infl of virtual electrons, which are, in my view, part of a complex human energy fi This assumption is confirmed by the fact that when grounding the energy of human body is not detected by VEGA- 12U, is not registered with a help of torsion balance as well as by biolocation methods. A similar pattern is observed in the case of a mobile phone housing grounding. Again, it should be emphasized that all the facts and phenomena described above make us come to the conclusion that, to a first approxi- mation, virtual particles – electrons and positrons – are the part of torsion fi generated by electronic equipment.
The human energy fi (aura) consists of virtual elec- trons, positrons, other virtual particles and antiparticles. It is known that membranes of all human cells have a natural negative charge and the cumulative charge of cells interacts with virtual electrons, other virtual particles and antiparticles forming an “E-coat” (halo) predominately from virtual electrons around a person. In case when a person is in the zone of action of left torsion fields the size of a human “E-coat” decreases, and therefore, the number of virtual electrons in the human body increases, which leads to negative consequences. For example, the size of an aura decreases, if a person holds a mobile phone with no protective device, is in the left geopathogenic zone or in front of any display. The reason for the human aura reduction in all of these cases is interact- ion of virtual aura electrons and virtual mobile phone electrons, geopathogenic zone or electronic display, respectively. In the case with a mobile phone the aura is reduced to 20-25 cm. as virtual electrons loca- ted around a mobile phone pull virtual aura electrons. In the other two mentioned cases virtual electrons completely fi a human body. If a cathode ray tube is used as a display device, it polarizes the Physical Va- cuum in such a way that the right torsion field – a positron one, appears at the cathode side, and in the direction of electron beam movement the left torsion field is formed, as virtual electrons emerge outside the electron-beam tube are repelled by real electron beam of the tube itself.
It is believed that prevalence of depressive moods and anxiety disorders among people, who work on
![]()
the computer most of the day, is connected to the influence of weak high-frequency radiation generat- ing, inter alia, virtual electrons which detune the neurally Free radicals that are molecules or atoms with free electrons in the outer cover. Circulation of too many free radicals is called oxidative stress, which plays a major role in aging and causes age-related diseas- es. Free radicals circulate in the body pilfering elec- trons from healthy tissues, as a result causing chronic diseases from gum diseases to cancer. Diseases occur when the negative potential of cells falls below normal. Free radicals also reduce the amount of melatonin – a hormone that regulates sleep. The ionic composition of the air inhaled by a person also makes significant impact on human health. Negative (namely light) ions have a positive effect, while positive ones have negative impact. Inhalation of positively charged air ions (especially heavy air ions) causes aging and destruction of cells, weakening of the immune system. It is believed that the human energy field (aura) is a part of the Cosmos fields. Energy fields of living beings (bio-fields or psi fields) have a rather complicated structure. They are composed of magnetic, electrical and torsion fields. The human energy field is an integral part of the energy field of the Earth and of all the Cosmic space. The human energy field is not just the volume of virtual electrons, positrons and other particles and antiparticles, which cover the physical body. It is divided into special energy layers so that each layer is responsible for its function and has a different comediated exchange,
which has a negative effect on the recapture time of serotonin, noradrenaline and dopamine by cell mem- branes. Exploring condition of aura by different ways, it is possible to understand that if something is wrong with a certain part of the given body, appropriate actions should be taken timely, which shall make possible to avoid serious health disorders. It makes special meaning and significance, as in the present conditions preservation of health becomes an urgent national issue.
Peculiarity is that the human aura is reduced dra- matically when a person picks up any gadget. As a result, the number of virtual electrons in the human body is sharply increased, which causes known adverse effects.
Experts of the National Technical University “KPI”, LLC “Spinor International”, International Academy of bioenergy technologies have designed instruments to mitigate the negative influence of the torsion component of EMR from monitors, TV sets and other electronic equipment.
Engineering designs of Ukrainian scientists employs an idea of partial dispersion and deviation of the left TF generated by monitors, television sets and other electronic appliances when they interact with the right TF of protection devices. Just like interference of natural intrinsic TF of buildings and structures with the lines of the GPZ which change the direction
![]()
of the former, and thus they become parallel to the walls. These facts are stated by the specialists on bio-location from Riga [36].
The principle of the interaction of the TF from moni- tor or television sets and the natural TF of the protection device is the basis of engineering design. The PC and TV set user protection device for prote- ction against negative effect of torsion component of the EMR from monitor is a generator of statically formed TF [17 ].
The device for human personal protection of (Fig. 22) against negative effect from the torsion component of EMR of video monitors consists at least of two placed coaxially, one inside another concentric cylinders of the same height, the space between their walls is filled with polymer then [17].
The literature does not describe the mechanisms of the static TF formation with semantic filling, however, it can be assumed that one of its sources is emerging at the contact of two phases.
Generation of inter-phase potential difference is tightly linked to formation of DEL, i.e. asymmetric distribution of charged particles at the interface: an excess of positive charges on one phase induces negative charge on the other phase. Apparently, the interfacial potential difference appears at the inter- face of two phases an it is a source of Physical Vacuum polarization, or the source of formed TF, thus causing torsion phantoms.
Some processes that take place within formation of DPL are still not fully understood, since in this
case there is an effect of more subtle and complex mechanisms. It is found by experiments that the cylinders of neutralizing element, in conjunction with
R
the biopolymer, create the right TF S
, while the
torsional component of the EMF of the monitor is the left TF.

Fig. 26
The polymer material placed in the space between the cylinders is pre-exposed to effect of a particu- lar generator of TF during polymerization time, this enables the polymer spin polarization. This process is critical to attribute protective properties of the device, though the natural fields of coaxially placed cylinders are partially used as well.
As the result, the formed static TF of the protection device is greatly improved, increasing protection efficiency. This protective device is placed in the impact zone of the left TF monitor, preferably at the front part of the monitor in such way, that one of
![]()
the ends of the device is directed normally to the optical axis of the monitor (Fig. 27).

Fig. 27

Fig. 28
As it is stated above, the left field of the video- monitor and right field of the protective device partially compensate each other, and the uncompen- sated part of the left TF of the video-monitor is deflected practically for 180°, i.e. to the region of
![]()
the right TF, SR generated by the monitor. As the result of interaction of oppositely swirled vortexes of the left SL and the right SR TFs, both are substantially weakened, and the total field from the monitor reduces to the background level (Fig. 28).
The device for protection of users against negative infl of PC monitors, other electronic equip- ment – is a material object, which is a coherent set of regular geometric shapes with corresponding sur- face geometry creating shaped static polarization of Physical Vacuum, which is substantially increased due to the arrangement of the polymer particle spins, or some other filler filling the inner free space of the device.
Protection device for users against negative effect from PC computer monitors, other electronic equip- ment, creates two right formed static torsion fields propagating in the form of symmetrical cones for a distance depending on the number of creative poly-forms – creators (material objects with the appropriate surface geometry).
The research is carried out on the imported monitors with the same degree of protection against known harmful for human body types of radiation. Before
![]()
commencing this experiment, health status of each user has been determined (by the Voll method). The R. Voll method is a worldwide well proven method, and it has a certain theoretical background [37].
The results of the health status analysis (PC users) protected against negative influence from effect of torsion component of PC monitor radiation show substantial weakening of this infl . Characteristics of the state of their health during the whole test period have shown no significant changes, while the characteristics of health status of human body without protection tended to decrease with time. Compared to the initial data, their health performance character- istics have been deteriorated by 20 ÷ 40 %. More detailed information for this subject is given in [17]. Application of kinesiology method is reported by Diana Votkovyak in [39]. She indicates that her measurements of torsion fields by the kinesiology method arose from the need to confi the presence of large dowsing networks – the Hartman, Curry net- works, other types of them, information for which is obtained from published data. She has used the phenomenon of increased muscle tension feelings after entering the zone with an increased concentra- tion of torsion field, without the use of frame or pendulum, with application to the eyelid muscles. Day by day, her sense of torsion fields increased and meanwhile she began to recognize the dowsing colors of the networks named above with her own method, with application of minerals and metals that she held in her hands.
![]()
The device Vernada – Geo (PFig. 29) neutralizes an influence of torsion fields radiation from Wi-Fi access points, routers, wireless networks, as well as geopathogenic zones in apartments, offices and other premises, thus protecting humans from harmful effect of torsion radiation.

Fig. 29
The device has a plastic housing with built in inverter, and a network system indicator. By switching on the device takes place inversion of the left torsion field to the right one by the phase wire of the net-
![]()
work. This leads to formation of the right torsion field, and as a feedback to such conditions there is a substantial decrease of the torsion field radiation kevel from Wi-Fi and geopathogenic zones in the area where above power phase wire is present. When Verada-Geo switched in reverse way, left torsion field will be totally dissipated.
The fact that the Wi-Fi networks are harmful for the human body is already reported by the foreign media, the recent studies of Ukrainian scientists confirm these data. However, the problem of harmful effect of this technology practically never has been discussed at the State level – constant debates about the cellular network communication, though a clear health threat from electromagnetic and torsion radiation of mobile terminals makes very few people to give up such convenient communication means. In turn, in relation to the Wi-Fi promotion, wireless technology, the users believe in its total safety. However, it is not so.
As the water for the EMR indicator, two types of water are used: bottled drinking water “Morshinskaya” and tap water from the public water supply network (“Drinking Water”). By means of standardized instru- ments, the following properties of the water were measured: pH – parameter of the acid-base balance; σ – specific conductivity at direct current, in μkSm; TDS – total concentration of dissoluble impurities in water, mg/l.; ROP – the reduction/oxidation
potential of water, in mV. The measurements of these parameters are carried out for water samples before and after Wi-Fi network impact, and in event of the protective device application.
Water – indicator of the EMR of the Wi-Fi. The table
1 shows the results of parameters measurement for bottled mineral water “Morshinskaya” sample after exposure to EMR of the Wi-Fi device. The table below shows possible, statistically reliable measurement errors of the water properties. One can see that practically all the water properties have been changed.
Water type | pH | o (μSm) | TDS (mg/l) | ROP (mV) |
Morshinskaya (before) (1) | 7.74±0.02 | 148±5 | 14±5 | +180 ±10 |
Morshinskaya (after)(2) | 7.49 | 124 | 80 | +240 |
Effect of Wi-Fi | -0.25 | -24 | -14 | +54 |
Table 1 shows that the water properties (water-indica- tor) are substantially changed. Exposure time for water was 0.5 of a day. Increase of the exposure time for the water leads to a certain saturation of value for the values σ, TDS and ROP, and the nature of the pH change depending on the characteristics of the water indicator.
![]()
Water type | pH | o (μSm) | TDS (mg/l) | ROP (mV) |
Distillate (before) (1) | 7.30 | 145 | 79 | +215 |
Distillate (after) (2) | 7.16 | 46 | 27 | +215 |
Effect of Wi-Fi | +0.14±0.02 | +99±5 | +49±5 | 0±10 |
Drinking water (before) | 7.27 | 604 | 335 | +235 |
Drinking water after (exposure 4 hours) | 6.96 | 610 | 370 | +250 |
Effect of Wi-Fi | -0.31±0.02 | +6 ±5 | +35 ±5 | +15±10 |
From the data given in the Tables 1 and 2 one can clearly see that the EMR of the Wi-Fi system changes the basic physical properties of the water (as an indicator of radiation). This in its turn means that the Wi-Fi system affects water, and capable to impact all the natural water containing systems with regards to their composition (intercellular and intracellular water). Device Vernada – Geo (photo 21) neutralizes the infl of torsion fi radiation of the Wi-Fi access point, router, wireless networks, as well as geopatho- genic zones in apartments, offices and other pre- mises, thus protecting humans against harmful effect of torsion radiation. These studies were conducted by the Swiss scientist Stefane Cardinaux.
The lower picture shows the absence of torsion fields in the apartment, while there is residual radiation from the sources of the torsion field.

Fig. 30
![]()

Fig. 31
It is known that the presence of the GFE at motorways leads to an increased accidents rate, since even a short presence of a driver in such area leads to a sudden loss of consciousness, orienta-
tion as a result of a specific kind of stress and abrupt release of adrenocorticotropic hormone into their blood. In addition, the drivers are per- manently under the negative influence of the left TF generated by the systems of high voltage supply to the spark plugs by automotive electronics.
There is a registered patent of Ukraine [40] which describes the methods for car drivers and passen- gers protection against above said negative influence with application of the device “Forpost-1” (PFig. 31).

Fig. 32
Currently, to protect the car drivers and passengers against the negative effect of the automotive electro- nics there is available protective device “Vernada- Auto” (Fig. 32) designed by LLC “Spinor Internationa‘’ on the basis of a standard adapter for various gadgets charging. The inverting unit via an adapter is connected to the ‘plus’ of the vehicle battery. This prevents the negative effect on passengers and the driver from the automotive electronics, and the engine itself. Application of this protective device, greatly reduces the driver fatigue and makes easier to drive the road parts with negative impact on the driver (geopathogenic zones, techno pathogenic sections of roads, the road parts adjacent to the base stations of mobile phones, wind power generators). PFig. 33 presents results of the vehicle exposure to the torsion fields generated by the automotive electronics, and those fields propagate beyond the vehicle as well.


Fig. 33
When the “Vernada – Auto” device is switched on, the torsion fields in the car are practically absent (PFig. 33). The measurements are carried out by Stephane Cardinaux from Switzerland using “VEGA- 12 U” by the end of 2016.
The new device “Vernada-Odo” is presented in Fig. 34.
The principle of the device is based on the harmo- nization law of a closed space, which we have disco- vered. The essence of the law shall not be disclosed until the end of the multiple verifi ation of the process. Advantage of this equipment model in comparison with Vernada-Geo – is that there is no need to plug- in the device into electrical network. But at the same

Fig. 31
time it is a dis- advantage of this unit, since harmo- nization takes place in one room only. In addition, Vernad- Odo can be used to prevent negative impact of a cell phone base stations on the living orga- nisms. To get such
effect, device must be placed in any convenient location near the base station. This device has an advantage over Vernada, since there is no need to determine the “power points” that are required when using the Vernada older version. Vernada- Odo can also be used in the subway.
Apparently, “Vernada-Odo” can be attributed to quantum-mechanical devices.
The issue of the quantum mechanics information interpretation is considered in the article [41] and it is asserted that the elementary particles themselves have a consciousness, perhaps quite different from ours. The author believes that the behavior of elemen- tary particles is purposeful and when the particles interact, they perform an information exchange. They must have corrected ideas about space and time, and in this sense one can speak of a certain system, like Greenwich.
Undoubtedly, the unity of the world is of information nature. The particle’s strategy – the wave function –
![]()
is in the consciousness of the particle and is the result of the work of this consciousness above known information about the world. Thus, the particle solves the quantum-mechanical problem. When new informa- tion is received, the particle adjusts its strategy i.e. it corrects its wave function. A striking example of such correction is the fact that if you identify nodes of left and right geopathic zones in a closed space, for example, in an apartment, and connect these nodes themselves with a conductive wire or a non- conductive rope, then space harmonization takes place in accordance with A. E. Akimov’s model. In this case, virtual electrons and positrons are embedded in each other, forming a “phyton” in accordance with A.E. Akimov’s model.
In other words control is understood as an action where the control impact on the Physical Vacuum aimed at harmonization has an implicit, indirect informa- tion influence. The information influence is provided by the device which has two zones where the right and left torsion fi are registered, and these areas are connected together. In this case, virtual particles get the command to be embedded or penetrate one into another. A Physical Vacuum consisting of virtual particles is oriented toward this information influence. Virtual electrons and positrons go into the mode of “phytons” when this virtual particles are put one into other, i.e. components of the Physical Vacuum are in a symmetric mode. In this case, there is no negative impact on the environment and people. It is understood that self-organization is
carried out using the subconscious of the virtual particles themselves.
Many people can doubt about this approach, but to the sub-consciousness of virtual particles had already pointed out Nikola Tesla in his time.
The peculiarity of Vernada-Odo is the fact that it can also be used to neutralize the negative impact on people of base stations of mobile phones. To do this, you can use an ordinary photo of the base station. It is assumed that any mobile communication base station has its own torsion field, which is a property only of this base station, since all molecules and crystals have their own torsion fields with their spatial- frequency spectrum. It is known that there is an information link between the object and its photo- graph, because they are quantum-entangled objects, and the photograph itself is a receiver in the quan- tum teleportation of the base station states in the case under consideration. Let us consider the dynamic interrelation between a photograph and an object depicted on it, using the concept of quan- tum entanglement, i.e. by means of nonlocal quantum correlations.
Quantum correlations are provided by a flow of appropriately formed virtual photons, electrons and positrons, as well as real quanta in the optical range. It is well known that the mobile communications base station has its own torsion fi which depends on the form of the base station. Its own torsion field is transmitted and stored as a conventional or digital photo, i.e. in analog or digital form. Both images
![]()
contain information of the atoms spins of the base station. When printing a photo in black and white color, the own torsion field of the base station chan- ges the orientation of the atom spins of the photo material in such a way that the spins of this material repeat the spatial structure of the base station own torsion field.
The own torsion fi of the mobile base station inter- acts with the torsion fi of the photo, which, under the infl of Vernada – Odo, it becomes neutral,
i.e. harmonized. The base station of the mobile phone and the photo are in entangled state, and the har- monized state of the photo is transmitted to the own torsion field of the base station, as a result of which the own torsion field of the base station also be- comes harmonized. Outcome of this interaction is that the base station continues to operate in a normal mode, i.e. provides a conventional mobile connection without a negative impact on the environment and people.
Other words, base station virtual electrons and posi- trons go into the mode of “phytons” when this virtual particles are put one in the other, i.e. the compo- nents of the base station own torsion field are in a symmetric mode.
Previously, we considered transfer of the protec- ted state of a mobile phone with a Spinor protection device to the mobile phone without a protection one. In this case a right torsion field of mobile phone with a Spinor protection device impacts the mobile phone without protection and a copy of the original state of the protected mobile phone reproduced.
A pioneer in this field, the European Reflex project recently shed light on some of the mysteries, pro- ducing results that raise many questions.
REFLEX [42] was carried out between 2000 and 2004 by 12 research teams from seven European countries, mainly funded by the EU Commission, organized and coordinated by Franz Adlcofer.
Genotoxic effects such as DNA strand breaks were observed in isolated human fibroblast exposed to UMTS radiation already at a special absorption rate (SAR) of 0.05 W/kg, thus only one-fortieth of the currently valid exposure limit. Under GSM radiation and otherwise identical experimental conditions a SAR value of 0.3 W/kg, that is one-sixth of the currently approved exposure limit, was necessary to increase significantly the rate of DNA strand breaks.
http://www.pandora-foundation.eu/documents/ ruthless-attacks-on-scientific-results.html http://www.pandora-foundation.eu/projects/hardell- project/index.html
Human settlements have an impact on the physical environment; they change locally the properties of the soil and, through it, have effects on humans and animals.Relay antennas, wind turbines and possibly other electrical installations (transformers, towers, motors, etc.) may impose a danger for the health of- living beings at the distances of several kilometers away if they are at the intersection with the fault
![]()
zones with water circulation. The strata faults are the channels for these “geotechnopathogenic” nuisances transmission.
Sustainable exposure to these nuisances can cause the dysfunctions of the body and the behavioral problems or diseases in humans and animals.
The geomorphological study using the geological and topographical maps makes possible to investigate if electrical installations and the areas where the nuisances occur are located on the same fault zone. The installation of protections Vernada device or plug-in Vernada – Geo device in network of the base station supply generally makes possible to improve the situation with nuisances.
Recommendations:
A genuine safety torsion field standard needs to be established to serve as a basis for future regulatory decisions. Since the specific absorption rate alone does not reflect a biological effects on humans, it does not serve to the safety needs of consumers. Scientists, health care and government bodies must act immediately and aggressively to minimize im- pacts of torsion fields on children, pregnant women and adults.
One agency shall be established as the lead agency with a purpose of people protection who use wire- less communication devices.
Although scientists could not yet explain why.
https://interestingengineering.com/emdrive-rocket- technology-uses-electrical-power-create-thrust
The EmDrive engine [43] was invented by the British Schoer and does not demand fuel, because it uses energy, in his opinion, microwaves.
The engine (Fig.35) created by the Shoer is very light weight and has a simple design. According to Schoer, it creates the necessary attraction “by oscillating microwaves around the vacuum container.” At the same time, electricity, which is necessary to create microwaves, can be extracted from sunlight. In other words, this engine does not require the use of fuel and can actually run forever or at least until a mechanical part breaks down.
The test showed that the unique design of the micro- wave engine really allows to creating a force that could not be described from the classical point of view of the electromagnetic phenomenon, and thus the installation assumes interaction with the quantum vacuum of a virtual plasma.
Previously, we considered the structure of a virtual plasma and the excitations of which [13] as an axial symmetry of right and left rotation. A similar axial symmetry exists also in the polarization of the Physical Vacuum in accordance with Akimov’s phyton model [8].Head of an advanced research team in the field of propulsion systems at the Johnson Space Center Harold White, suggested that the EmDrive thrust is generated by virtual particles in a quantum vacuum that behave like fuel ions in magneto hydrodynamic propulsion systems extracting “fuel” from the space- time and hence there is no fuel demand.
![]()

Fig. 35
Although many scholars have criticized White’s theoretical model, some of them believe that he at least pointed out in the right direction.
In informal circles, a stormy discussions of EmDrive and similar suggestions for space propulsion installa- tions like Cannae Drive broke out.
We also would like to participate in these discussi- ons, since we have been studying the world of virtual particles for a long time and all devices of the com- pany “Spinor International” are based on the inter- action principles of such particles.
It is known that the photo is in an entangled state with the original. Using the method of bio location or using device like VEGA-12M, you can determine the location of virtual particles generated by the geo- metric features of the engine. The paradoxical
peculiarity of this engine is that it lacks the right torsion field, which should be under normal condi- tions at the apex of the truncated cone, and virtual electrons emanate from the socket i.e. from the bottom of the truncated cone. Virtual positrons attracted by the right field of several disks, which are the generators of the right fi and located be- hind the top of a truncated cone. Physical Vacuum, which fills all space and manifested objects, contains a large number of virtual electrons and positrons. In an excited state these virtual particles can be presented by a virtual plasma. Virtual elec- trons are located inside the engine cone and the part most of truncated cone of the engine, and their concentration increases to the bottom of the truncated cone. The virtual electrons of the cone and the virtual electrons existing into environment are attracted by the virtual electrons of the Physical Vacuum, due thus the motion happens. Moving in space virtual positrons in the propulsion direction are repelled by the virtual electrons of the engine, and the motion continues. A process similar to the processes in the Casimir effect occurs there. Let us consider in more details the Casimir effect, which, perhaps, will help to shed a light on the principle of Shoer’s engine.
According to Wikipedia – “Casimir Effect” – is the effect of the mutual attraction of conductive unchar- ged bodies under the action of quantum fl
in a vacuum. Most often, we are talking about two parallel uncharged mirror surfaces located at a close
![]()
distance, but the Casimir effect also exists for more complex geometries. It is believed that the cause of the Casimir effect are the energy vibrations of the Physical Vacuum due to the constant formation and dissipation of the virtual particles in it. The effect is confirmed experimentally.
It is known that the Physical Vacuum is not an abso- lute void. It constantly creates and annihilates pairs of virtual particles and antiparticles – there are cons- tant fluctuations. A virtual photon, after passing a certain distance, becomes a virtual electron-positron pair. The electron and the positron make half a turn in opposite directions, forming a circle in space. At the junction they disappear and generate a virtual photon, which propagates further...
On Fig. 1 presented “virtual chain” of such transfor- mations.
Thus, virtual particles and antiparticles are constant- ly in the Physical Vacuum. In addition, around any manifested object there is a halo of virtual electrons that are repelled by the real electrons of the objects mentioned.
In the space between closely located mirror sur- faces, there is an attraction like interaction of virtual electrons. The closer to each other the surfaces, the greater attraction force between them.
Based on the above, it seems reasonable to assume that the Shoehr engine uses the phenomenon of mutual attraction of virtual electrons at the bottom of the conductive truncated cone, as an integral part of the engine, and the virtual electrons of the Phy-
![]()
sical Vacuum, which always exist under impact of quantum fluctuations in the Physical Vacuum.
Indirect confirmation of the assumptions to the operation of the Shoer engine can be obtained from the works of A. Okhatrin [14]. In the model of
A. Ohatrin there are ultralight weakly interacting particles-micro leptons. A. Okhatrin and his collea- gues found that in the excited state of micro lep- tons (non-conservation of a weak charge) around the bodies in the air, macro quantum spatial struc- tures-macro-clusters-can form. Micro cluster struc- tures from micro leptons, by analogy with A. Akimov’s phytons, exist also inside bodies, impacting their properties. Macro cluster structures formed from ultralight weakly interacting particles around light bodies are detected using torsion scales. Obviously, there is a field of attraction and repulsion forces acting on the arrow of the torsion balances, and this force fi was found in a number of materials – metals, ceramics and others.
Taking into account the mentioned above, it be- comes clear that the experimental results of the Shoehr engine studies, could not be explained on the basis of the known laws of physics but it is possible to use a micro lepton model of A.Okhatrin or to apply A. Akimov phyton model. Most likely, A.Akimov and A.Okhatrin in their studies encounte- red different aspects of the same phenomenon. In other studies, separate from A. Akimov and
A. Okhatrin, similar phenomena mentioned under different titles.
![]()
Perhaps in the near future, one of the theoreticians will propose a simpler and more acceptable expla- nation for all.
In the future, a more rigorous explanation shall be obtained from the principles of Shoer’s engine operation, and the necessary key to such an explana- tion is associated with an understanding of the phy- sical geometry of the Physical Vacuum and the speci- fi nature of the laws that force interaction of virtual particles micro-world.
Although this fi st approach deals with relatively small values of virtual particle currents, it gives us good reasons to support further studies regarding the virtual particles and the torsion fi in the real world as an electromagnetically independent phenomenon. However, considering the scientific challenge virtual particle represent, it is natural that at the present stage of studies there are more questions to be answered and more experiments to be made, before definite answers will be given. Nevertheless, it is fair enough to state that a milestone has been establi- shed in the study of the interaction principle between real and virtual particles.
![]()
FINAL REPORT STATEMENT Risk Evaluation of Poten- tial Environmental Hazards From Low Frequency Electro- magnetic Field Exposure Using Sensitive in vitro Methods. A project funded by the European Union under the prog- ramme Quality of Life and Management of Living Resources, Key Action 4 “Environment and Health” Contract: QLK4- CT-1999-01574 Start date: 01 February 2000, End date:
31 May 2004, Acronym: REFLEX-2004.
Glen Rein, PhD, Quantum Biology Research, March 2014 The Efficacy of Earth Calm’s Quantum Cell to Prevent Dama- ging Effect of Cell Phone Radiation on Human DNA http://www.earthcalm.com/wpcontent/uploads/2015/01/ logo.jpg
Blank M, Goodman R. “Do electromagnetic fields interact directly with DNA?” Bio electromagnetics 18; 111–115, 1997 Blank, 2012
Карл фон Рейхенбах, Одо-магнетические письма, содер- жащие в себе изложение явлений и действий новооткры- той силы природы”. Пер. с нем. Киев, кн-во по магнетиз- му З.С. Бисского, 1913 г., Физическое описание, 71 стр. ил.
С. Гребенников, В.Ф. Золотарев. Непериодические быстропротекающие явления в окружающей среде. Сек- ция: концептуальные подходы и гипотезы. Томск, 1988, ч. III, с. 48-85
Родимов Б.Н. Автоколебательная квантовая механика. – Томск.: ТГУ, 1976. – 388 с
Шипов Г.И. Теория Физического Вакуума. Теория, эксперименты и технологии. – М.: Наука,
Акимов А.Е., Тарасенко В.Я. Модели поляризованных состоянии физического вакуума // Изв. высш. учебн. заведении. – 1992. – N 3, физика. – С. 13-23.
![]()
Дмитриев А.Н., Дятлов В.Л., Гвоздарев А.Ю. Необыч- ные явления в природе и неоднородный Физичес- кий Вакуум. – Новосибирск, Горно-Алтайск, Бийск: БГПУ им. В.М. Шукшина, 2005. – 550 с.
http://zn.ua/TECHNOLOGIES/vengerskie-fiziki-zayavili-ob- otkrytii-pyatoy-sily-prirody-214523_.html
Мельник И. А. Осознание пятой силы. – М 482 Мо- сква, Издательский дом «Фолиум», 2010. – 180 с., ил. 33, табл. 3
A.S. Moskalenko, J.F. Schmidt, P Krauspe, C.Riek, D.V. Se- letskiy, G. Burkard, A. Leitenstorfer, Direct sampling of elec- tric-field vacuum fluctuations, Science DOI: 10.1126/science. Aas9788.
Wilson, C. M. et al. Photon generation in an electromagne- tic cavity with a time-dependent boundary. Phys. Rev. Lett. 105, 233907 (2010)
Cathal O’Connell. Physicists make something from nothing with ‘virtual’ particles. News Physics. 23 January 2017.
Marcel Urban, François Couchot, Xavier Sarazin, Arache Djannati-Atai. The quantum vacuum as the origin of the speed of light. The European Physical Journal D, 2013; 67 (3) DOI: 10.1140/epjd/e2013-30578-7
Roger Penrose “The Road to Reality. A Complete Guide the Laws that of the Universe”– London, Jonathan Cape, 2004, 912 p
А. Павленко. Биобезопасная электроника. Шаг за гори- зонт официальной науки. – Lambert Academic Publishing, 2014, 226.
Dr. George Carlo and Martin Schram. Cell phones – Invi- sible Hazards in the Wireless Age. Carrol and Graf Publi- shersm Inc. New York, 2001, 300 p.
Anatolii Pavlenko. Methods and protection devices from torsion radiation. Kyiv, Publishing house “Phoenix”, 2017,
108 c.
![]()
Anatolii Pavlenko, 2017. “Possible ways to neutralize biopa- thogenic radiation”, International Journal of Current Research, 9, (07), 53790-53799.
Pavlenko A (2017) Geodynamic zones as Receptors of Solar and Techno Pathogenic In uences on Living Systems: Possi- ble Ways to Neutralize Biopathogenic Radiation. J Geogr Nat Disast 7: 188. doi: 10.4172 2167-0587.1000188
Pavlenko A (2018) On the Possibility of Experimental Detection of Virtual Particles in Physical Vacuum. J Environ Hazard 1: 101.
Dr. George Carlo and Martin Schram. Cell phones – Invisi- ble Hazards in the Wireless Age. Carrol and Graf Publishersm Inc. New York, 2001,300 p.
Blank M, Goodman R. “Do electromagnetic fields interact directly with DNA?” Bioelectromagnetics 18; 111–115, 1997
Glen Rein, PhD, The Efficacy of EarthCalm’s Quantum Cell to Prevent Damaging Effect of Cell Phone Radiation on Human DNA. Quantum Biology Research, March, 2014 http://www.earthcalm.com/wpcontent/uploads/2015/01/ logo.jpg
Pavlenko A.R., Illiuk N.A., Chernenko K.D., Protecting the immune system of students – users mobile phones. Procee- dings of the First International Conference “Fundamentals of physical interaction: Theory and Practice”, Kyiv, 2008, p. 436-437
A.Pavlenko, A.Rusanov (2005). “Influence des antennes relais sur etres vivant”, Procédure de la conférence interna- tionale scientifique-pratique”, Dnepropetrovsk, 15-17 Sep- tembre 2005
Соколова В.А. Исследование реакций растений на воз- действие торсионных излучений. – М., 1994. – 32 с. – (Препринт Межотрасл. Науч.-техн. Центр Венчурных нетрадиц. Технологий, № 48).
А.Е. Акимов, М.В. Курик, В.Я. Тарасенко Влияние спинор- ного (торсионного) поля на процесс кристализации мицеллярных структур. Биотехнология, 1991, № 3, с. 69
Л.Н. Толстой. О жизни. Мысли о новом жизнепонима- нии» (1911 г.)
Динамика спиновой жидкости. Спиновый маятник Р.Н. Гуржи, А.Н. Калиненко [et al.] // Журнал эксперимен- тальной и теоретической физики. – 2007. – Т. 132, вып. 1. – С. 209-213.
Р.Г. Сигалов, Ш.Д. Султонов, М. Тиллаев, Т.И. Шаповало- ва, А. Хайдаров. “Новые страницы учения об электро- магнетизме”. Фергана, 2003. 51 с.].
А.В. Бобров. Полевые информационные взаимодействия. Орел, издательство Орловского ГТУ, 568 с.
А.В. Бобров “Спиновые поля материальных объектов – фактор пятого фундаментального взаимодействия” — в печати
Клинтон Обер, Стивен Синатра, Мартин Зукер. Заземле- ние. Самое важное открытие о здоровье: М., издатель- ство ООО “София”, 2012, 318 с.
Валдманис Я.Я., Долацич Я.А., Калнинь Т.К. Лозоходство – вековая загадка. Рига. – Зинатне: 1979
Самохин А.В., Готовский Ю.В. Электропунктурная диа- гностика и терапия по методу Р. Фолля. – М.: Центр интеллектуал. мед. систем ”ИМЕДИС, 1995. – 448 с.
Диана Войтковяк, Эльжбета Малярчик, Казимеж Радушкевич, Мирослава Скурковска, Марьян Войтковяк, Анджей Фрыдрыховски – “Корпускулярно – волновые ствойтва торсионных полей – итоги собственных экспериментов. //
Международная конференция “Торсионные поля и инфор- мационные взаимодействия“, Москва, 2014, стр. 185-197
Патент Украины № 40190, Павленко А.Р, Павленко О.А. Устройство для защиты водителей автомобилей и пассажиров, 16.07.2001
A.R. Pavlenko (2016). Geodynamic zones as receptors of solar and techno pathogenic influences on living sys- tems: Possible ways to neutralize biopatogenic radiation. 5th International Conference on Earth Science & Climate Change July 25-27, 2016 Bangkok, Thailand. Posters & Accepted Abstracts: J Earth Sci Clim Change DOI: 10.4172/ 2157-7617.C1.02
REFLEX Final Report: http://www.itis.ethz.ch/assets/ Downloads/Papers-Reports/Reports/REFLEXFinal- Report171104.pdf Competence Initiative for the Protec- tion of Humanity, Environment and Democracy e.V. (20 11) Brochure 5: Radiation Protection in Conflict with Science, Part 1. http://www.kompetenzinitiative.net/ assets/broschuerenreihe_heft-5_englisch_druck.pdf https://interestingengineering.com/emdrive-rocket- technology-uses-electrical-power-create-thrust
Abbreviation SAR – specific absorption rate
EMR – electromagnetic radiation
TF – torsion fields
MB – metal blank
EMF – Electromagnetic Fields
The WHO – The World Health Organization
MTS (3G) – Global System for Mobile Communications
TE – torsion emission
GPZ – geopathogenic zones